4L80-E / 4L85-E Automatic Transmission

DTC P0719

Test 1-7

Test 8-16
Circuit Description with 4L80-E / 4L85-E Automatic Transmission
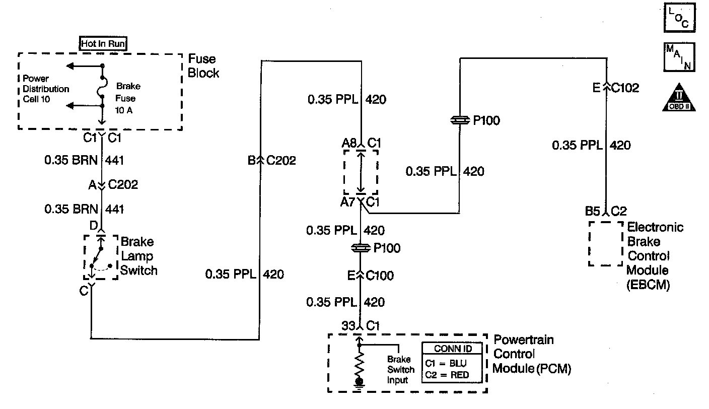
The TCC/Stoplamp switch indicates the brake pedal status. The normally-closed TCC/Stoplamp switch supplies a B+ signal to the Powertrain Control Module (PCM). The signal voltage circuit opens when the brakes are applied.
If the PCM detects an open TCC/Stoplamp switch circuit during accelerations, then DTC P0719 sets. DTC P0719 is a type C DTC.
Conditions for Running the DTC
^ No AT OSS DTC P0502 or DTC P0503.
^ The following sequence of events occurs:
1. The vehicle speed is less than 8 km/h (5 mph).
2. Then the vehicle speed is 8 - 40 km/h (5 - 25 mph) for 1.7 seconds.
3. Then the vehicle speed is greater than 40 km/h (25 mph) for 7 seconds.
Conditions for Setting the DTC
^ All conditions are met for 8 occurrences.
^ The PCM detects an open TCC/Stoplamp switch/circuit (0 volts) for 15 minutes.
Action Taken When the DTC Sets
^ The PCM does not illuminate the Malfunction Indicator Lamp (MIL).
^ For TCC scheduling, the PCM disregards the brake switch state if the TP sensor is greater than 1.5 percent and the vehicle speed is greater than 32 km/h (20 mph).
^ The PCM records the operating conditions when the Conditions for Setting the DTC are met. The PCM stores this information as Failure Records.
^ The PCM stores DTC P0719 in PCM history.
Conditions for Clearing the DTC
^ A scan tool clears the DTC from PCM history.
^ The PCM clears the DTC from PCM history if the vehicle completes 40 warm-up cycles without a non-emission-related diagnostic fault occurring.
^ The PCM cancels the DTC default actions when the fault no longer exists and the ignition switch is OFF long enough in order to power down the PCM.
Diagnostic Aids
Inspect the brake switch for proper mounting and operation.
Test Description
The numbers below refer to the step numbers on the diagnostic table.
4. This step tests for TCC/Stoplamp switch voltage to the PCM connector.
7. This step isolates the TCC/Stoplamp switch as a source for setting the DTC.
10. This step tests for a short to ground in the ignition 3 voltage circuit (CKT 441) (ignition voltage) to the TCC/Stoplamp switch.
12. This step tests for a short to ground in the TCC brake switch signal circuit (CKT 420), from the TCC/Stoplamp switch to the PCM.
13. This step isolates the PCM as a source for causing the fuse to open.