P0717

DTC P0717

Test 1-4

Test 5-13
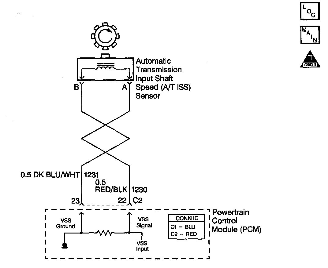
Circuit Description with 4L80-E / 4L85-E Automatic Transmission
The automatic transmission input (shaft) speed (AT ISS) sensor provides transmission input speed to the Powertrain Control Module (PCM). The AT ISS sensor is a permanent magnet generator. The sensor mounts into the transmission case and maintains a slight air gap between the sensor and the forward clutch housing. The PM generator produces an AC voltage as the forward clutch housing rotor teeth pass through the sensor's magnetic field. The AC voltage level increases as the turbine shaft speed increases. The PCM converts the AC voltage into a digital signal. The PCM determines actual turbine speed using the digital signal. The PCM uses the input speed to calculate torque converter slip speed, and gear ratios.
When the PCM detects a low or no input speed during high vehicle and high engine speeds, then DTC P0717 sets. DTC P0717 is a type C DTC. For California emissions vehicles, DTC P0717 is a type B DTC.
Conditions for Running the DTC
^ No AT OSS DTC P0502 or P0503.
^ No TFP manual valve position switch DTC P1810.
^ TFP manual valve position switch is not PARK or NEUTRAL.
^ The system voltage is 8.0-18.0 volts.
^ The vehicle speed is greater than 12 km/h (7 mph).
^ The engine runs greater than 400 RPM for at least 7 seconds, and not in fuel cutoff.
Conditions for Setting the DTC
The measured input speed is less than 100 RPM for at least 5.0 seconds.
Action Taken When the DTC Sets
^ For California emission equipped vehicles, the PCM illuminates the Malfunction Indicator Lamp (MIL) during the second consecutive trip in which the Conditions for Setting the DTC are met.
^ For Non-California emission equipped vehicles, the MIL is not illuminated.
^ The PCM defaults the transmission to maximum line pressure.
^ The PCM freezes shift adapts.
^ The PCM records the operating conditions when the Conditions for Setting the DTC are met. The PCM stores this information as Freeze Frame (Calif. only) and Failure Records (Calif. and Federal).
^ The PCM stores the DTC P0717 in PCM history during the second consecutive trip (Calif.) or the first trip (Federal) in which the Conditions for Setting the DTC are met.
Conditions for Clearing the MIL/DTC
^ For California emissions, the PCM turns OFF the MIL during the third consecutive trip in which the diagnostic test runs and passes.
^ A scan tool can clear the MIL/DTC.
^ For California emissions, the PCM clears the DTC from PCM history if the vehicle completes 40 warm-up cycles without an emission related diagnostic fault occurring.
^ For Federal emissions, the PCM clears the DTC from PCM history if the vehicle completes 40 warm-up cycles without a non-emission related diagnostic fault occurring.
^ The PCM cancels the DTC: default actions when the fault no longer exists and the ignition switch is OFF long enough in order to power down the PCM.
Diagnostic Aids
DTC P0717 defaults to an elevated line pressure condition which may result in TCC partial apply. This may induce idle surge and engine stall.
Test Description
The numbers below refer to the step numbers on the diagnostic table.
3. This step tests for proper circuit operation up to the PCM connections. Remove the fuel pump relay in order to eliminate a flooding condition during this step.
5. This step tests for proper operation of the AT ISS sensor.