4L80-E / 4L85-E Automatic Transmission

DTC P0712
Test 1-4

Test 5-12
Circuit Description with 4L80-E / 4L85-E Automatic Transmission
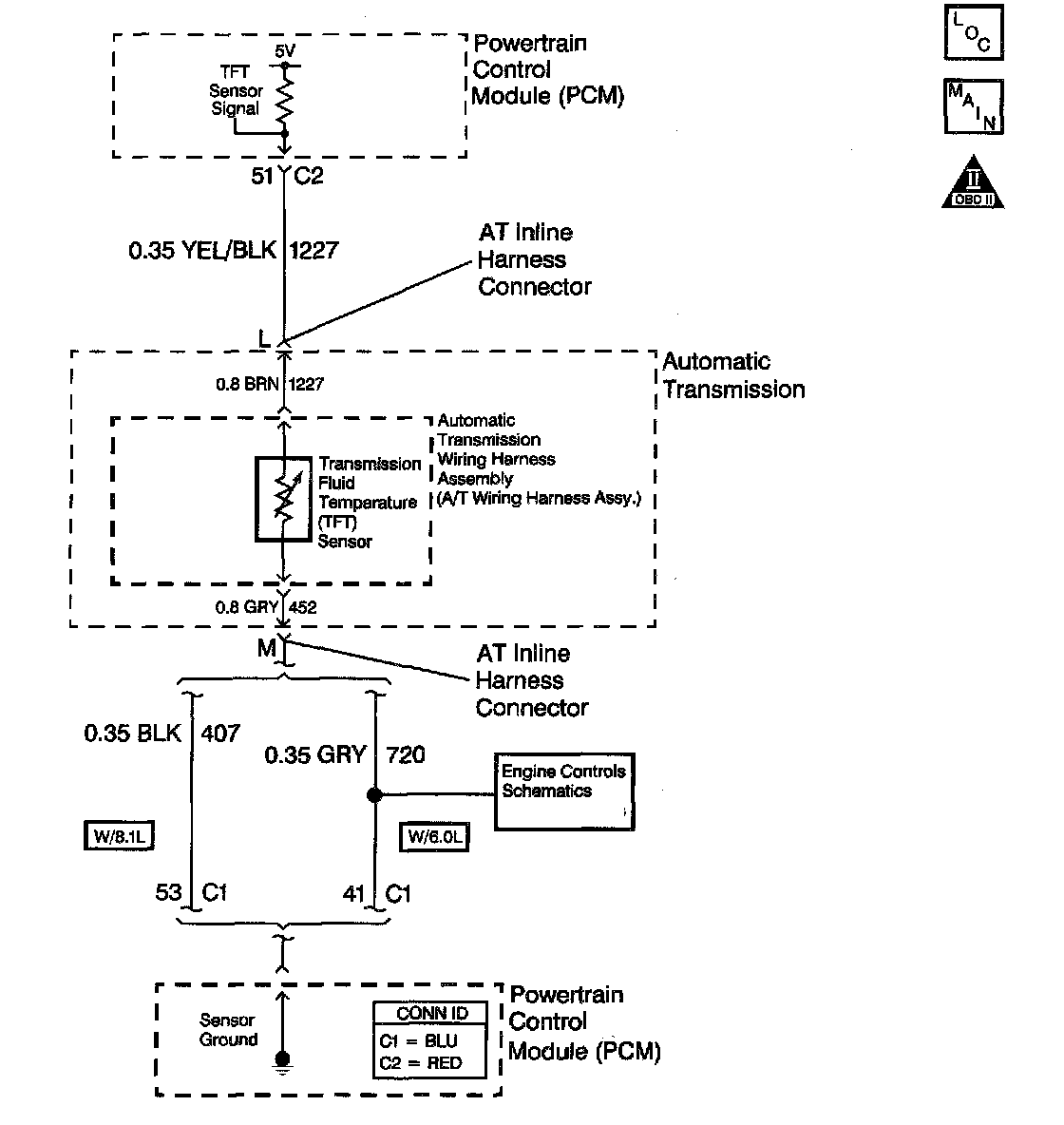
The automatic Transmission Fluid Temperature (TFT) sensor is part of the 4L80-E automatic transmission (AT) wiring harness assembly. The TFT sensor is a resistor, or thermistor, which changes value based on temperature. The sensor has a negative-temperature coefficient. This means that as the temperature increases, the resistance decreases, and as the temperature decreases the resistance increases. The Powertrain Control Module (PCM) supplies a 5-volt reference signal to the sensor and measures the voltage drop in the circuit. When the transmission fluid is cold, the sensor resistance is high and the PCM detects high signal voltage. As the fluid temperature warms to a normal operating temperature, the resistance becomes less and the signal voltage decreases. The PCM uses this information to control shift quality and torque converter clutch apply.
If the PCM detects a continuous short to ground in the TFT sensor or signal circuit, then DTC P0712 sets. DTC P0712 is a type C DTC.
Conditions for Running the DTC
^ The engine is running greater than 400 RPM for greater than 7 seconds.
^ System voltage is 8.0-18.0 volts.
Conditions for Setting the DTC
^ The TFT sensor indicates a voltage of less than 0.14 volts.
^ All conditions met for 17 seconds.
Action Taken When the DTC Sets
^ The PCM does not illuminate the Malfunction Indicator Lamp (MIL).
^ The PCM commands increased line pressure.
^ The PCM freezes shift adapts.
^ The PCM determines a TFT default Transmission Temperature (TFT) using the following matrix:
- If the engine run time is less than 60 seconds then default TFT equals 47°C (117°F).
- If ECT is less than 20°C (68°F), IAT is used.
- If the ECT is 20 - 110°C (68 - 230°F) then default TFT equals ECT.
- If the ECT is greater than 110°C (230°F) then default TFT is set to 140°C (284°F) and transmission shift pattern is in hot mode.
- If ECT and TFT DTCs are both set then default TFT is 140°C (284°F).
^ The PCM records the operating conditions when the. Conditions for Setting the DTC are met. The PCM stores this information as Failure Records.
^ The PCM stores DTC P0712 in PCM history. Conditions for Clearing the DTC
^ A scan tool clears the DTC from PCM history.
^ The PCM clears the DTC from PCM history if the vehicle completes 40 warm-up cycles without a non-emission related diagnostic fault occurring.
^ The PCM cancels the DTC default actions when the fault no longer exists and the ignition switch is OFF long enough in order to power down the PCM.
Diagnostic Aids
^ Verify the customer driving habits, trailer towing, weight, or towing in OVERDRIVE.
^ DTC P0712 defaults to an elevated line pressure condition which may result in TCC partial apply. This may induce idle surge and engine stall.
Test Description
The numbers below the step numbers on the diagnostic table.
3. This step tests for a short to ground or a skewed sensor by verifying the fault still exists.
4. This step tests for an internal fault within the transmission by creating an open.
6. This step inspects the TFT sensor signal circuit (CKT 1227) of the AT wiring harness assembly for being shorted to ground.
