4L80-E / 4L85-E Automatic Transmission

DTC P0711
Test 1-2

Test 3-9
Circuit Description with 4L80-E / 4L85-E Automatic Transmission
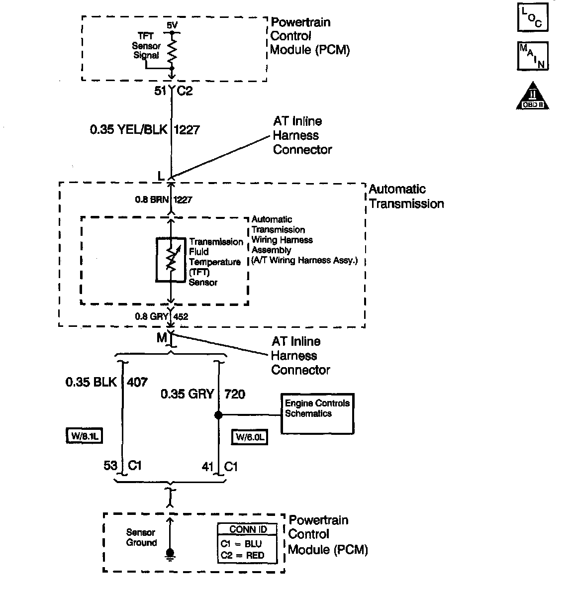
The automatic Transmission Fluid Temperature (TFT) sensor is part of the 4L80-E automatic transmission (AT) wiring harness assembly. The TFT sensor is a resistor, or thermistor, which changes value based on temperature. The sensor has a negative-temperature coefficient. This means that as the temperature increases, the resistance decreases, and as the temperature decreases the resistance increases. The Powertrain Control Module (PCM) supplies a &volt reference signal to the sensor and measures the voltage drop in the circuit. When the transmission fluid is cold, the sensor resistance is high and the PCM detects high signal voltage. As the fluid temperature warms to a normal operating temperature, the resistance becomes less and the signal voltage decreases. The PCM uses this information to control shift quality and torque converter clutch apply.
If the PCM detects the TFT sensor resistance has no change, or an unrealistic change in a short amount of time, (multiple changes within seconds) then DTC P0711 sets. DTC P0711 is a type C DTC.
Conditions for Running the DTC
^ No AT ISS DTC P0716 or P0717.
^ No AT OSS DTC P0502 or P0503.
^ No ECT DTCs P0117 or P0118.
^ No component slipping DTC P1870.
^ System voltage is 8.0-18.0 volts.
^ The engine is running greater than 400 RPM for greater than 35 seconds.
^ The TFT is -40° to +21°C (-40° to +70°F) at start up.
^ The Engine Coolant Temperature (ECT) is greater than 85°C (185°F).
^ ECT has changed at least 55°C (99°F) since start up.
^ The vehicle speed is greater than 8 km/h (5 mph) for at least 750 seconds (12.5 minutes).
^ The TCC slip speed is greater than 60 RPM for at least 500 seconds (8.3 minutes).
Conditions for Setting the DTC
One of the following conditions occurs:
Condition 1
The TFT has not changed more than 2.25°C (4°F), in more than 80 seconds. No TFT change.
Condition 2
The TFT has an unrealistic temperature change of more than 20°C (36°F) 14 times in 7 seconds.
Action Taken When the DTC Sets
^ The PCM does not illuminate the Malfunction Indicator Lamp (MIL).
^ The PCM commands increased line pressure.
^ The PCM freezes shift adapts.
^ The PCM determines a TFT default Transmission Temperature (TFT) using the following matrix:
- If the engine run time is less than 60 seconds then default TFT equals 47°C (117°F).
- If ECT is less than 20°C (68°F), IAT is used.
- If the ECT is 20 - 110°C (68 - 230°F) then default TFT equals ECT.
- If the ECT is greater than 110°C (230°F) then default TFT is set to 140°C (284°F) and transmission shift pattern is in hot mode.
- If ECT and TFT DTCs are both set then default TFT is 140°C (284°F).
^ The PCM records the operating conditions when the Conditions for Setting the DTC are met. The PCM stores this information as Failure Records.
^ The PCM stores DTC P0711 in PCM history.
Conditions for Clearing the DTC
^ A scan tool clears the DTC from PCM history.
^ The PCM clears the DTC from PCM history if the vehicle completes 40 warm-up cycles without a non-emission-related diagnostic fault occurring.
^ The PCM cancels the DTC default actions when the fault no longer exists and the ignition switch is OFF long enough in order to power down the PCM.
Diagnostic Aids
^ DTC P0218 may set approximately 600 seconds (10 minutes) after DTC P0711 has set. Follow the diagnostic table for DTC P0711 before proceeding to the diagnostic table for DTC P0218.
^ DTC P0711 defaults to an elevated line pressure condition which may result in TCC partial apply. This may induce idle surge and engine stall.
Test Description
The numbers below the step numbers on the diagnostic table.
2. This step tests for proper AT fluid level and condition.
3. This step verifies which condition has set DTC P0711.
5. The 12-volt test lamp is used as a fixed resistance.
6. This step ensures that the PCM monitors the TFT sensor Signal circuit (CKT 1227).
