4L80-E / 4L85-E Automatic Transmission

DTC P0706

Test 1-8

Test 9-16
Circuit Description with 4L80-E / 4L85-E Automatic Transmission
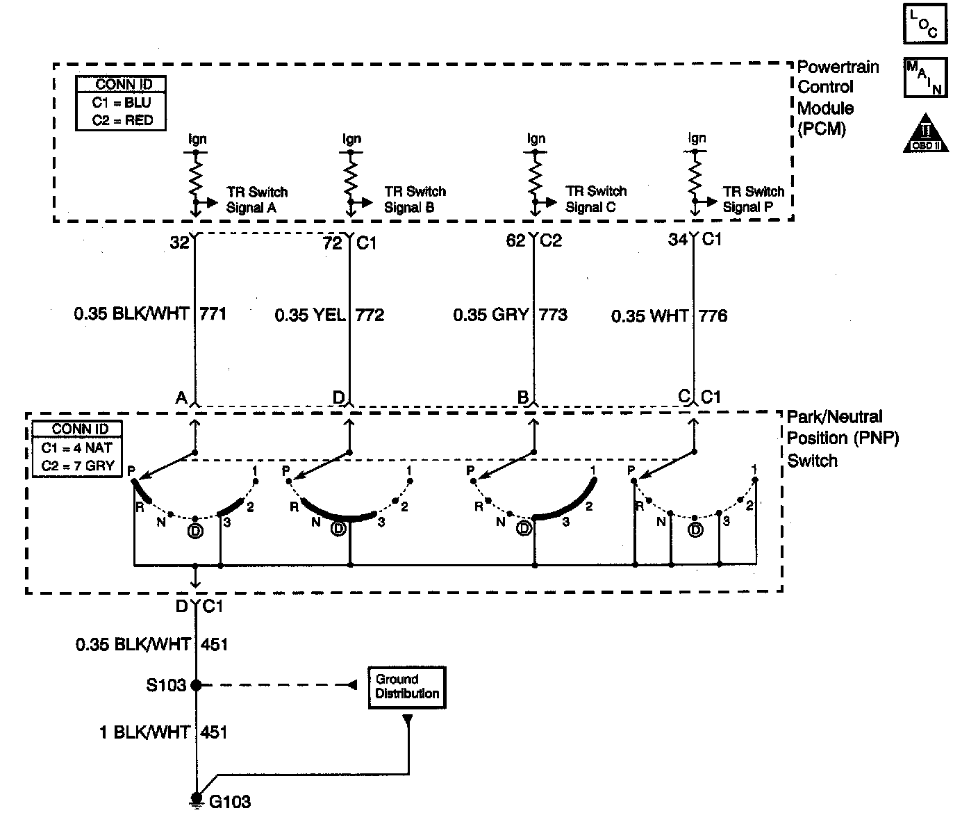
The Transmission Range (TR) switch is part of the park/neutral position and back-up lamp switch assembly and is externally mounted on the transmission manual shaft. The TR switch is a multi-signal switch. The PCM supplies ignition voltage to the TR switch on four signal circuits (A, B, C, and P). Each gear selector lever position grounds one or more of the switch circuits. In order to determine the gear range selected by the driver, the PCM compares the voltage combinations on the signal circuits to a look up table stored in the PCM memory. PCM detects the selected gear range by the state change of the switch input. Transmission Range Switch Logic table.
Switch input to the PCM is represented on the scan tool as HI and Low. H1 indicates an ignition voltage signal. Low indicates a zero voltage signal. The four parameters represent transmission range switch signal A, B, C and Parity.
DTC P0706 will set if the PCM detects start-up in a drive range or vehicle speed in the PARK or NEUTRAL range. DTC P0706 is a type C DTC.
Conditions for Running the DTC
^ Transmission is in D4.
^ System voltage is 6-18 volts.
Conditions for Setting the DTC
Condition 1
The PCM detects DRIVE or REVERSE at vehicle start-up.
Condition 2
The PCM detects PARK or NEUTRAL and the following conditions occur for 10 seconds:
^ TP is 5 percent or greater.
^ Engine torque is greater than 68 Nm (50 ft. lbs.).
^ VSS is 32 km/h (20 mph) or greater.
Action Taken When the DTC Sets
^ The PCM will use TFP Switch to determine gear range.
^ The PCM does not illuminate the Malfunction Indicator Lamp (MIL).
^ The PCM records the operating conditions when the Conditions for Setting the DTC are met. The PCM stores this information as Failure Records.
^ The PCM stores DTC P0706 in PCM history. Conditions for Clearing the DTC
^ A scan tool can clear the DTC.
^ The PCM clears the DTC from PCM history if the vehicle completes 40 warm-up cycles without a non-emission-related diagnostic fault occurring.
^ The PCM cancels the DTC default actions when the fault no longer exists and the DTC passes.
Test Description
The numbers below the step numbers on the diagnostic table.
5. By disconnecting the transmission range switch, the ground path of all TR switch circuits would be removed and the PCM would recognize all circuits as open. The scan tool will display HI for all range signals.
6. This step tests TR switch wiring for an open or the lack of the signal voltage from the PCM.
7. This step tests TR switch wiring and the PCM by providing a ground path through a fused jumper wire. When grounded, the scan tool range signal A should change to LOW.
8. This step tests TR switch wiring and the PCM by providing a ground path through a fused jumper wire. When grounded, the scan tool range signal B should change to LOW.
9. This step tests TR switch wiring and the PCM by providing a ground path through a fused jumper wire. When grounded, the scan tool range signal C should change to LOW.