With NV 3500 M/T

DTC P0704

Test 1-8

Test 9-14
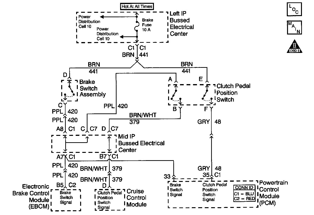
Circuit Description
Battery voltage is supplied from the brake fuse to the clutch switch. The clutch switch is a normally-closed switch. When the clutch pedal is released, the clutch pedal position switch signal circuit is pulled up to B+. When the clutch pedal is applied, the switch opens, and the voltage drops to 0 volts.
If the Powertrain Control Module (PCM) detects a specified number of vehicle speed transitions without detecting a clutch switch transition, DTC P0704 will set. DTC P0704 is a type B DTC.
Conditions for Running the DTC
No Vehicle Speed Sensor (VSS) DTC P0500.
Conditions for Setting the DTC
The PCM detects 7 changes in vehicle speed between 0 and 38 km/h (24 mph) without the PCM detecting a clutch pedal transition.
Action Taken When the DTC Sets
^ (California Vehicles) The PCM illuminates the Malfunction Indicator Lamp (MIL) during the second consecutive trip in which the Conditions for Setting the DTC are met.
^ (Federal Vehicles) The PCM does not illuminate the Malfunction Indicator Lamp (MIL).
^ The PCM disables cruise control.
^ The PCM disables power take-off.
^ The PCM records the operating conditions when the Conditions for Setting the DTC are met. The PCM records this information as Freeze Frame and Failure Records.
^ The PCM stores DTC P0704 in PCM history.
Conditions for Clearing the MIL/DTC
^ The PCM turns OFF the MIL during the third consecutive trip in which the diagnostic test runs and passes.
^ The PCM cancels the DTC default actions when the ignition switch is OFF long enough in order to power down the PCM.
^ A history DTC clears after 40 consecutive warm-up cycles, if no failures are present by this diagnostic or any other emission- related diagnostic.
^ A scan tool can clear the MIL/DTC.