4L80-E / 4L85-E Automatic Transmission

DTC P0502

Test 1-8

Test 9-15
Circuit Description with 4L80-E / 4L85-E Automatic Transmission
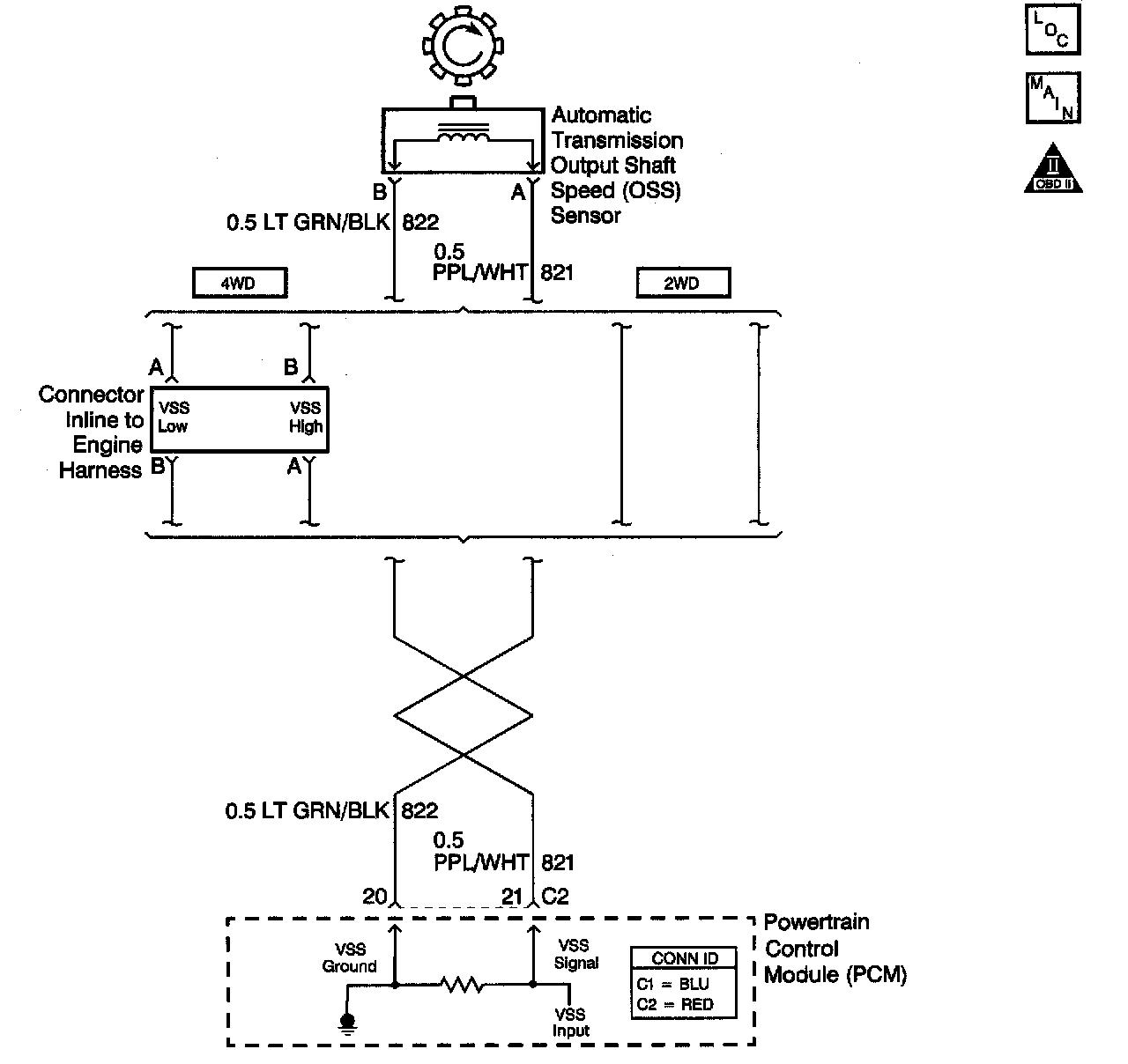
The output (shaft) speed (AT OSS) sensor, which is a permanent magnet generator, provides the vehicle speed information to the Powertrain Control Module (PCM). The PM generator produces a pulsing AC voltage as the transmission speed sensors rotor teeth pass through the sensor's magnetic field. The AC voltage level and the number of pulses increase as the speed of the vehicle increases. The PCM then converts the pulsing voltage to a digital signal for vehicle speed. The vehicle speed is used for engine and transmission calculations.
If the PCM detects a low vehicle speed and there is a high engine speed in a drive gear range, DTC; P0502 sets. DTC P0502 is a type C DTC. For California emissions and vehicles under 8600 GVW, DTC P0502 is a type B DTC.
Conditions for Running the DTC
^ No MAF sensor DTCs P0101, P0102 or P0103.
^ No MAP sensor DTCs P0106, P0107 or P0108.
^ No TP sensor DTCs P0122 or P0123.
^ No TFP manual valve position switch DTC P1810.
^ No AT ISS DTCs P0716 or P0717.
^ The engine torque must be between 108 Nm (80 ft. lbs.) and:
- 6.0 L: 576 Nm (425 ft. lbs.)
- 8.1 L: 881 Nm (650 ft. lbs.)
^ No change in 4WD low for at least 2.0 seconds.
^ The AT ISS is greater than 1,400 RPM.
^ The gear range is not PARK or NEUTRAL.
^ The system voltage is 8.0-18.0 volts.
^ TP angle is greater than 10 percent.
^ The engine is running greater than 400 RPM for greater than 7 seconds.
Conditions for Setting the DTC
The AT OSS is less than 50 RPM for at least 4 seconds.
Action Taken When the DTC Sets
^ For California emission equipped vehicles, the PCM illuminates the Malfunction Indicator Lamp (MIL) during the second consecutive trip in which the Conditions for Setting the DTC are met.
^ For Non-California emission equipped vehicles, the MIL is not illuminated.
^ The PCM commands maximum line pressure.
^ The PCM freezes the shift adapts.
^ The PCM defaults a calculated output speed value by using the AT ISS values.
^ The PCM records the operating conditions when the Conditions for Setting the DTC are met. The PCM stores this information as Freeze Frame (Calif. only) and Failure Records (Calif. and Federal).
^ The PCM stores the DTC P0502 in PCM history during the second consecutive trip (Calif.) or the first trip (Federal) in which the Conditions for Setting the DTC are met.
Conditions for Clearing the MIL/DTC
^ For California emissions, the PCM turns OFF the MIL during the third consecutive trip in which the diagnostic test runs and passes.
^ A scan tool can clear the MIL/DTC.
^ For California emissions, the PCM clears the DTC from PCM history if the vehicle completes 40 warm-up cycles without an emission related diagnostic fault occurring.
^ For Federal emissions, the PCM clears the DTC from PCM history if the vehicle completes 40 warm-up cycles without a non-emission related diagnostic fault occurring.
^ The PCM cancels the DTC default actions when the fault no longer exists and the ignition switch is OFF long enough in order to power down the PCM.
Diagnostic Aids
DTC P0502 defaults to an elevated line pressure condition which may result in TCC partial apply. This may induce idle surge and engine stall.
Test Description
The numbers below the step numbers on the diagnostic table.
4. This step tests the AT OSS circuit.
7. This step tests the integrity of the AT OSS sensor.