Air Cleaner Housing
Air Cleaner Housing:


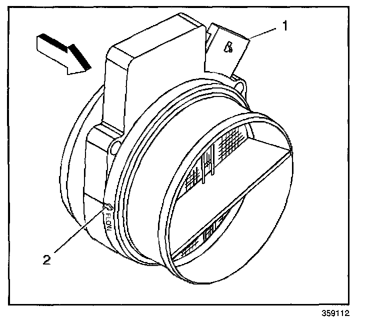
If the Mass Air Flow (MAF) sensor is installed backwards, the system will go rich. An arrow (2) cast into the plastic portion of the sensor indicates proper air flow direction. The arrow must point toward the engine.