Drive Belt: Service and Repair
Removing A/C Compressor Drive Belt (Cooper S)
Special Tools Required:
- 11 8 410
- 11 8 470
Important!
Drive belt tensioner is subject to heavy tension. Make sure that locking pin is correctly seated.
Mark the direction of rotation of the drive belt if it is to be reused.
Replace the drive belt if it is fouled with coolant/engine oil or hydraulic fluid.
Necessary Preliminary Tasks:
- Remove tank venting valve, please refer to: Powertrain Management/ Emission Control Systems/ Evaporative Emissions System/ Canister Purger Control Valve/ Service and Repair/ Service and Repair.
- Remove underpan, please refer to: Body and Frame/ Splash Guard/ Service and Repair/ Service and Repair .
- Remove right front wheel, please refer to: Steering and Suspension/ Wheels and Tires/ Service and Repair/ Service and Repair.
- Remove right wheel arch liner.

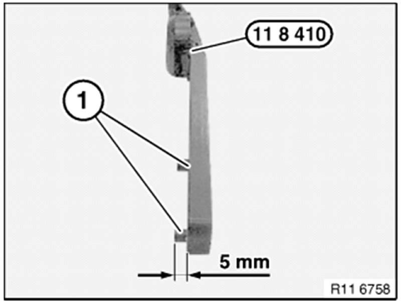
NOTE:
If the special tool 11 8 410 is used in a car with an Aisin transmission, special tool 11 8 410 must be changed.
Modify special tool 11 8 410 at studs ( 1 ) to 5mm.

Pull dipstick out of dipstick tube.
Insert special tool 11 8 410 as shown.
NOTE:
Make sure paintwork is not damaged.

Attach special tool 11 8 410 to tensioner ( 1 ).
Relieve tension of drive belt and block tensioner with locking pin, special tool 11 8 470.
NOTE:
A second person may be needed to help install special tool 11 8 470 in the second bore hole.
Remove drive belt.
Examine drive belt for traces of coolant or oil, replace if necessary.
Assemble engine.
Check that the drive belt is in correct installation position.