Operation CHARM
: Car repair manuals for everyone.
Home
>>
Mini
>>
2006
>>
Cooper S (R53) L4-1.6L SC (W11)
>>
Repair and Diagnosis
>>
Diagrams
>>
Electrical Diagrams
>>
Drive
>>
Engine Immobilizer EWS
>>
Voltage Supply, EWS
>>
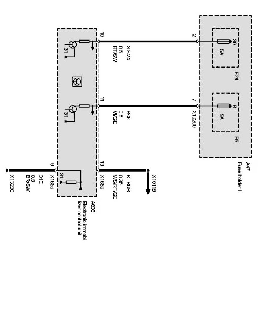
Supply (As of 09/05)
Supply (As of 09/05)
Supply: