Operation CHARM
: Car repair manuals for everyone.
Home
>>
Mini
>>
2006
>>
Cooper S (R53) L4-1.6L SC (W11)
>>
Repair and Diagnosis
>>
Diagrams
>>
Electrical Diagrams
>>
Chassis
>>
Steering EHPS (EHPS Electro-Hydraulic Steering Assistance)
>>
Steering Assistance EHPS
>>
Overload Protection
>>
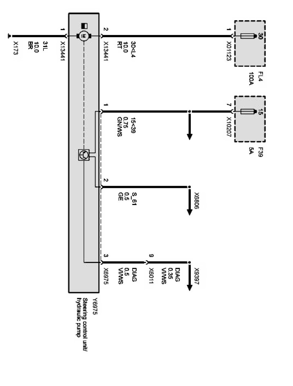
Electrohydraulic Power Steering (Up to 09/05)
Electrohydraulic Power Steering (Up to 09/05)
Electrohydraulic power steering: