Operation CHARM
: Car repair manuals for everyone.
Home
>>
Mini
>>
2006
>>
Cooper S (R53) L4-1.6L SC (W11)
>>
Repair and Diagnosis
>>
Diagrams
>>
Electrical Diagrams
>>
Body
>>
Signal and Warning Functions
>>
Horn
>>
-Horn-
>>
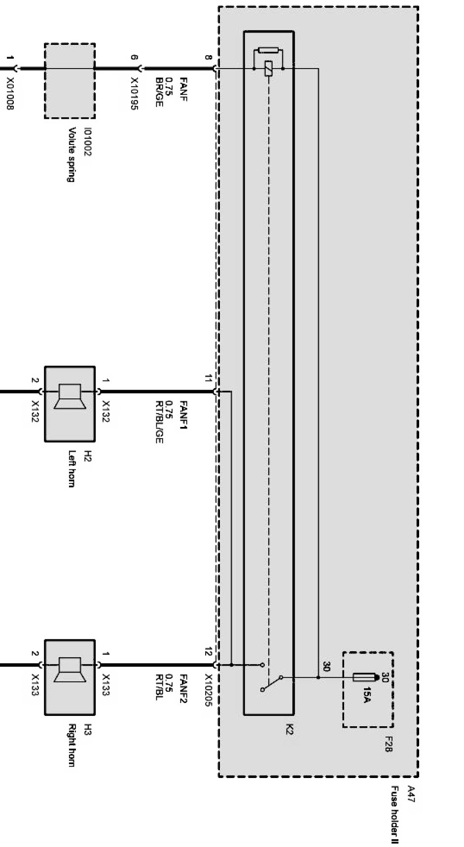
Horn (As of 09/05)
Horn (As of 09/05)
Horn Part 1:
Horn Part 2: