Operation CHARM
: Car repair manuals for everyone.
Home
>>
Mini
>>
2006
>>
Cooper S (R53) L4-1.6L SC (W11)
>>
Repair and Diagnosis
>>
Diagrams
>>
Electrical Diagrams
>>
Body
>>
Locking and Security Functions
>>
Trunk Lid Release
>>
Drive, Tailgate
>>
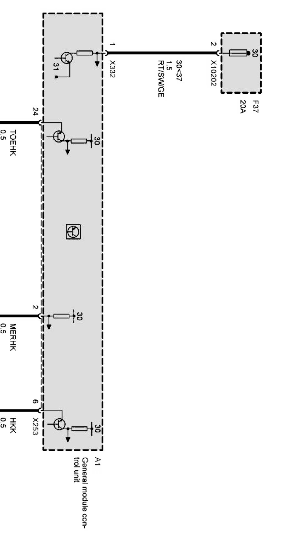
Trunk Lid Release (Coupe Up to 09/05)
Trunk Lid Release (Coupe Up to 09/05)
Trunk lid release Part 1:
Trunk lid release Part 2: