Operation CHARM
: Car repair manuals for everyone.
Home
>>
Mini
>>
2006
>>
Cooper S (R53) L4-1.6L SC (W11)
>>
Repair and Diagnosis
>>
Diagrams
>>
Electrical Diagrams
>>
Body
>>
Locking and Security Functions
>>
Engine Immobilizer EWS
>>
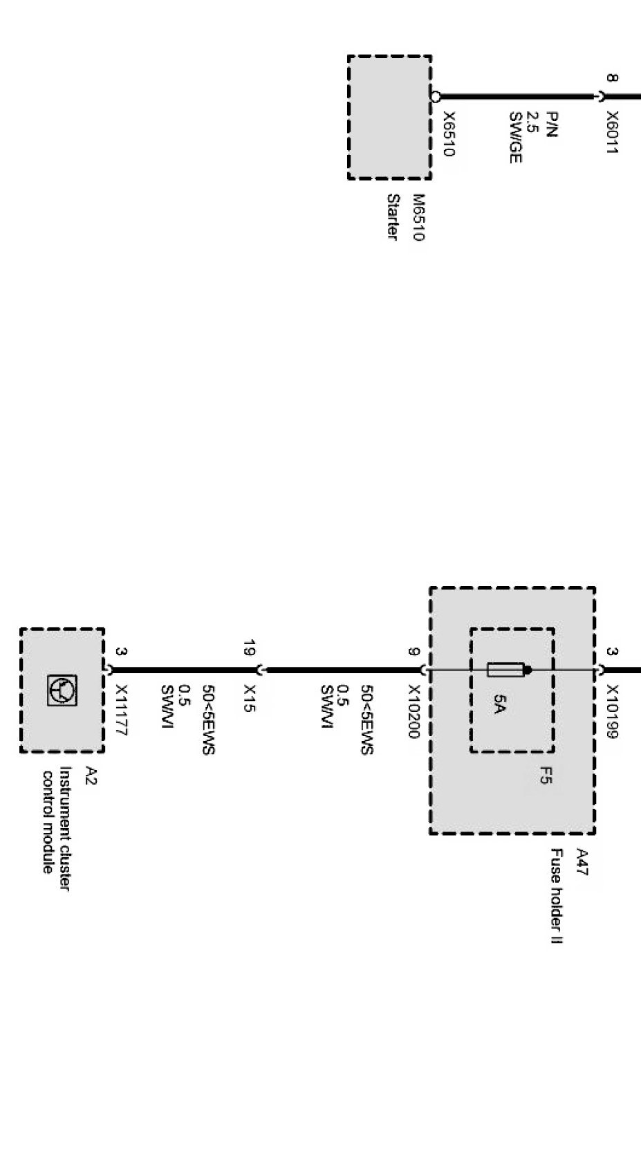
Starter Control
Starter Control
Starter control Interface signals Part 1:
Starter control Interface signals Part 2: