Operation CHARM
: Car repair manuals for everyone.
Home
>>
Mini
>>
2006
>>
Cooper S (R53) L4-1.6L SC (W11)
>>
Repair and Diagnosis
>>
Diagrams
>>
Electrical Diagrams
>>
Body
>>
Restraint Functions (Without MRS Multiple Restraint System V)
>>
Airbag Trigger
>>
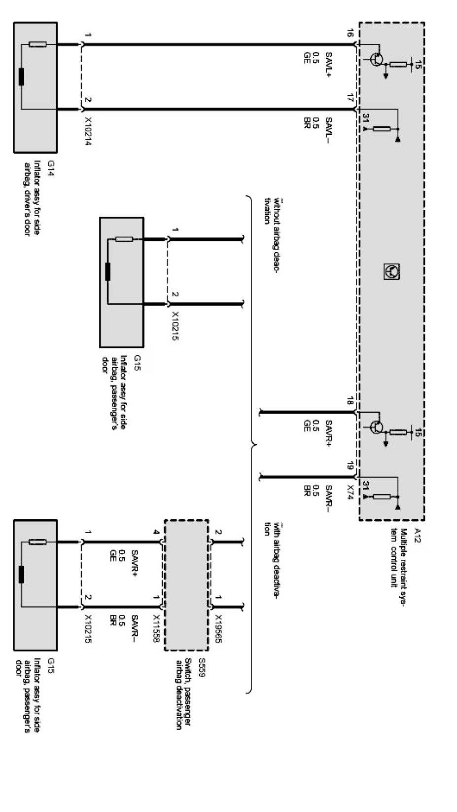
Side Airbag, Left
Side Airbag, Left
Side airbag: