Operation CHARM
: Car repair manuals for everyone.
Home
>>
Mini
>>
2006
>>
Cooper S (R53) L4-1.6L SC (W11)
>>
Repair and Diagnosis
>>
Diagrams
>>
Electrical Diagrams
>>
Body
>>
Lighting
>>
Back Up Light
>>
Back-Up Lights
Back-Up Lights
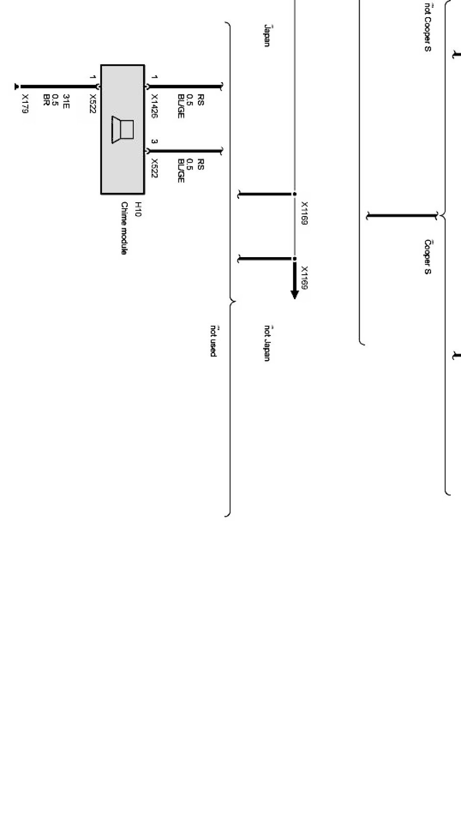
Back-up lights Part 1:
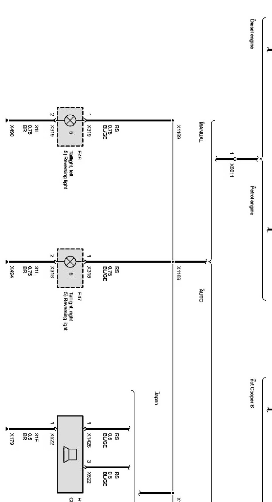
Back-up lights Part 2:
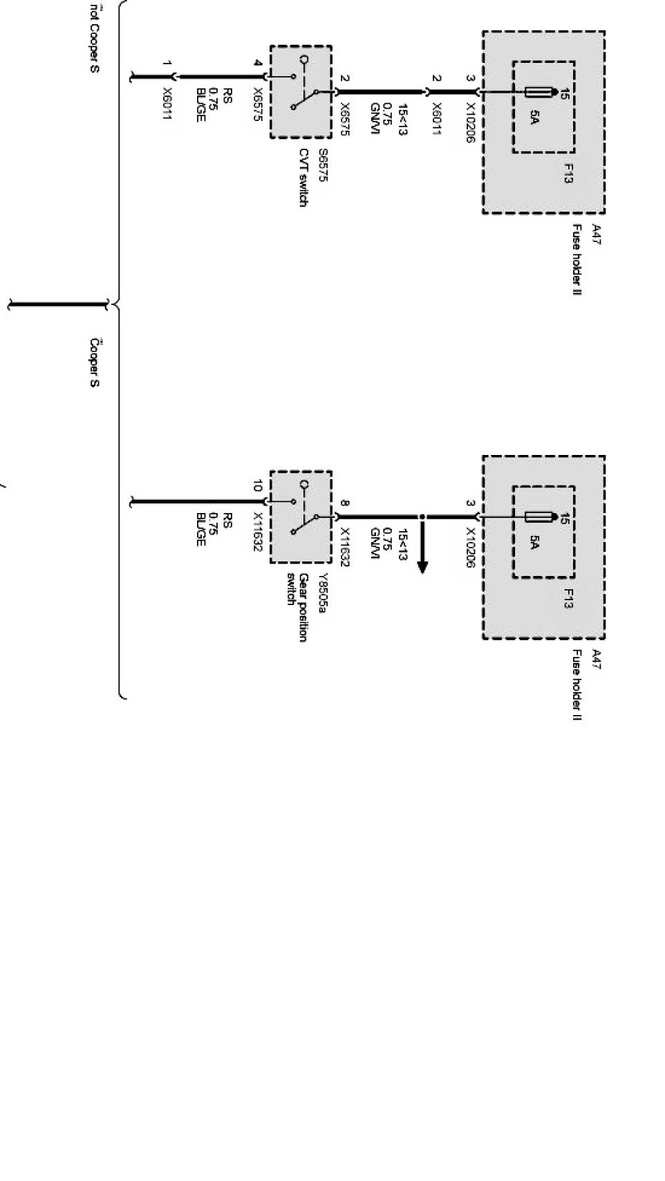
Back-up lights Part 3:
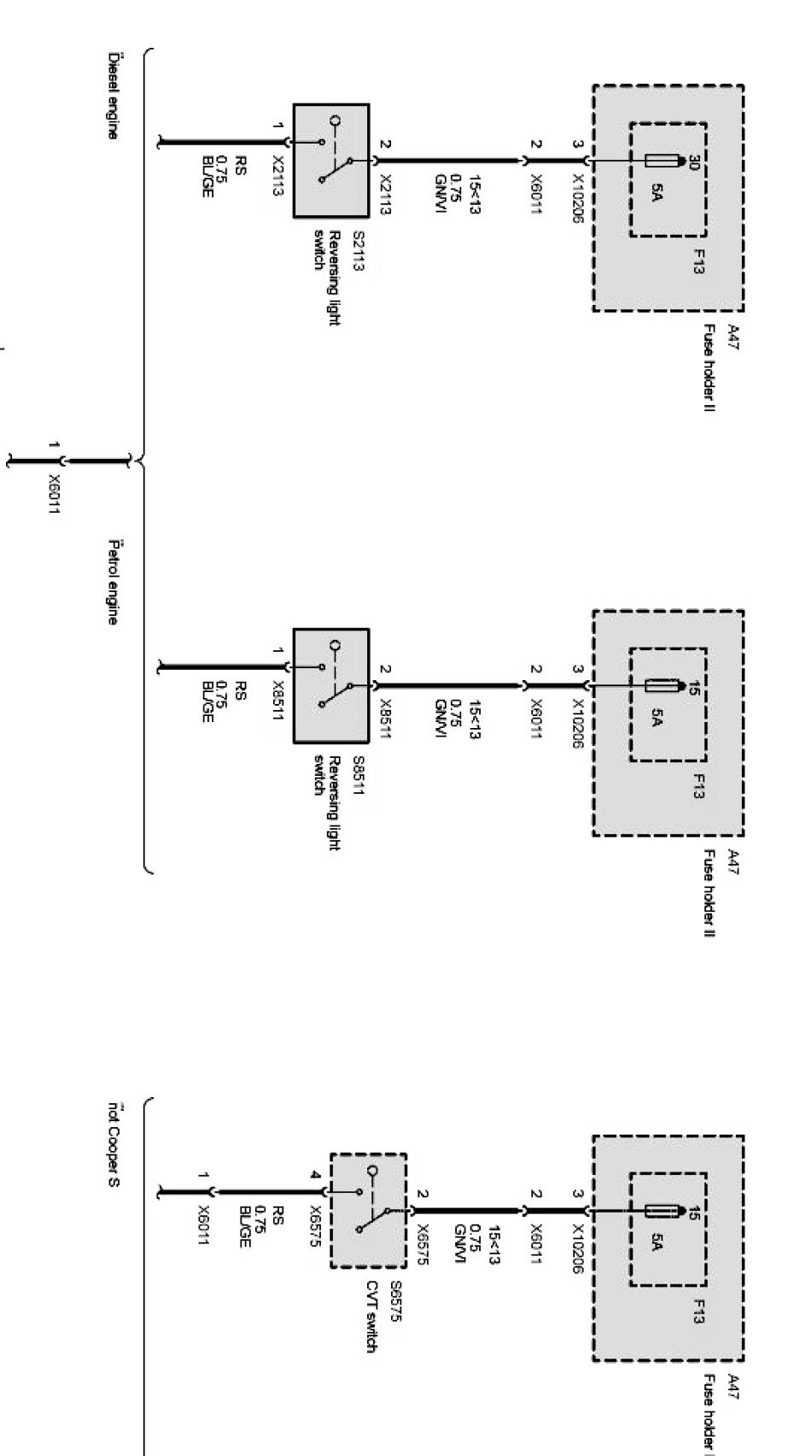
Back-up lights Part 4: