Operation CHARM
: Car repair manuals for everyone.
Home
>>
Mini
>>
2006
>>
Cooper S (R53) L4-1.6L SC (W11)
>>
Repair and Diagnosis
>>
Diagrams
>>
Electrical Diagrams
>>
Body
>>
Lighting
>>
Low Beam Light
>>
Xenon, Left (Xenon Light, Left)
>>
D Bus
>>
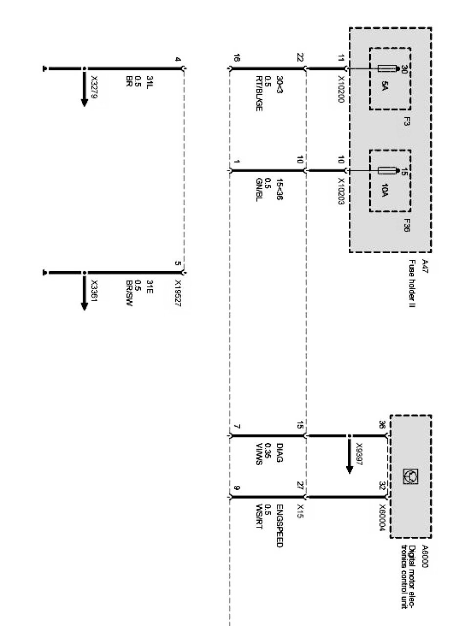
Connector X19527 OBDII ((W10 Engine or W11 Engine) As of 09/05)
Connector X19527 OBDII ((W10 Engine or W11 Engine) As of 09/05)
Connector X19527 OBDII Part 1:
Connector X19527 OBDII Part 2: