Operation CHARM
: Car repair manuals for everyone.
Home
>>
Mini
>>
2006
>>
Cooper S (R53) L4-1.6L SC (W11)
>>
Repair and Diagnosis
>>
Diagrams
>>
Electrical Diagrams
>>
Body
>>
Heating and Air Conditioning Functions
>>
Heated Windshield and Rear Window
>>
Relay, Heated Windshield
>>
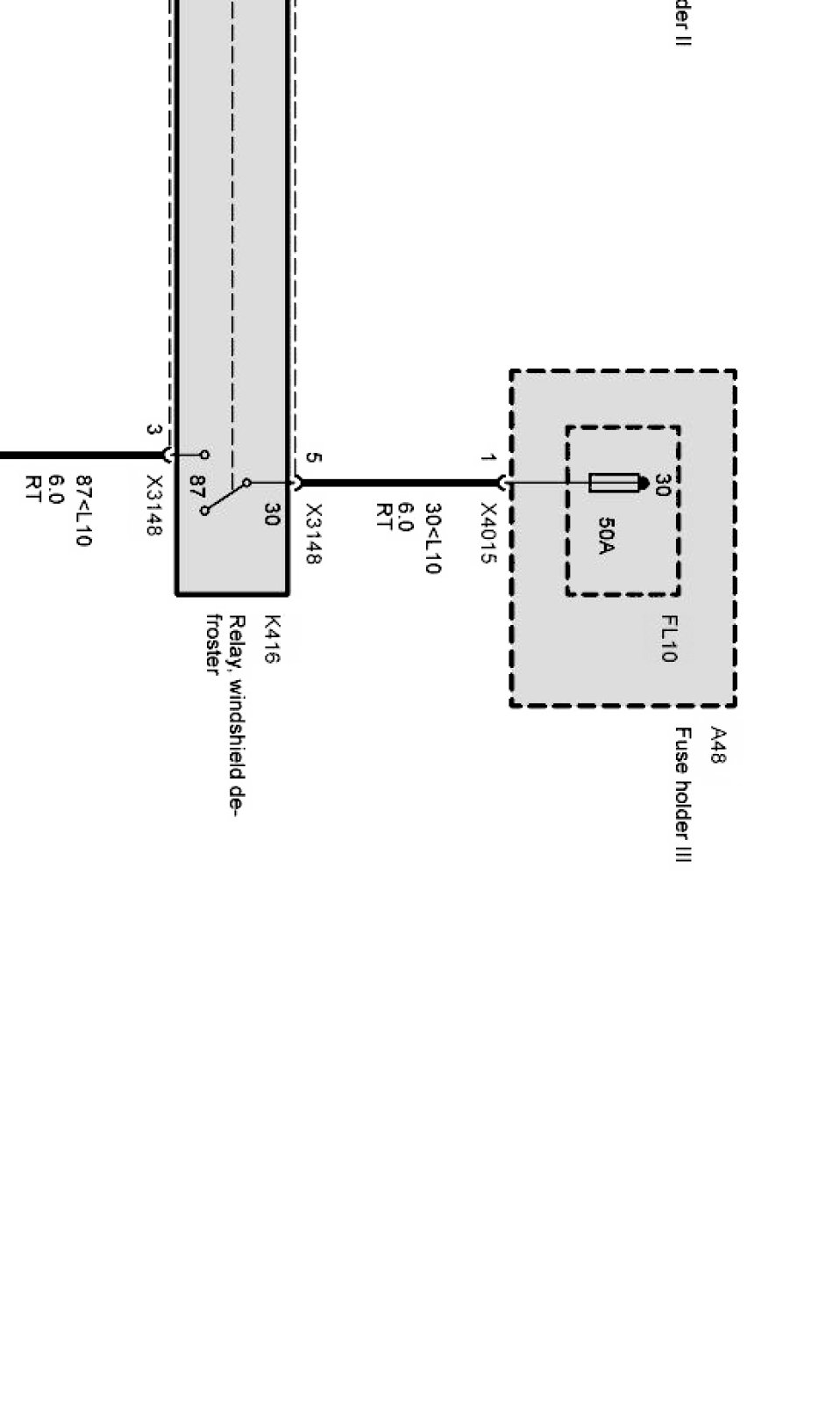
Heated Windshield (IHKA Automatic Heating/Air Conditioning System As of 01/05 Up to 09/05)
Heated Windshield (IHKA Automatic Heating/Air Conditioning System As of 01/05 Up to 09/05)
Heated windshield Part 1:
Heated windshield Part 2:
Heated windshield Part 3:
Heated windshield Part 4: