Operation CHARM
: Car repair manuals for everyone.
Home
>>
Mini
>>
2006
>>
Cooper S (R53) L4-1.6L SC (W11)
>>
Repair and Diagnosis
>>
Diagrams
>>
Electrical Diagrams
>>
Body
>>
Heating and Air Conditioning Functions
>>
Circulated Air
>>
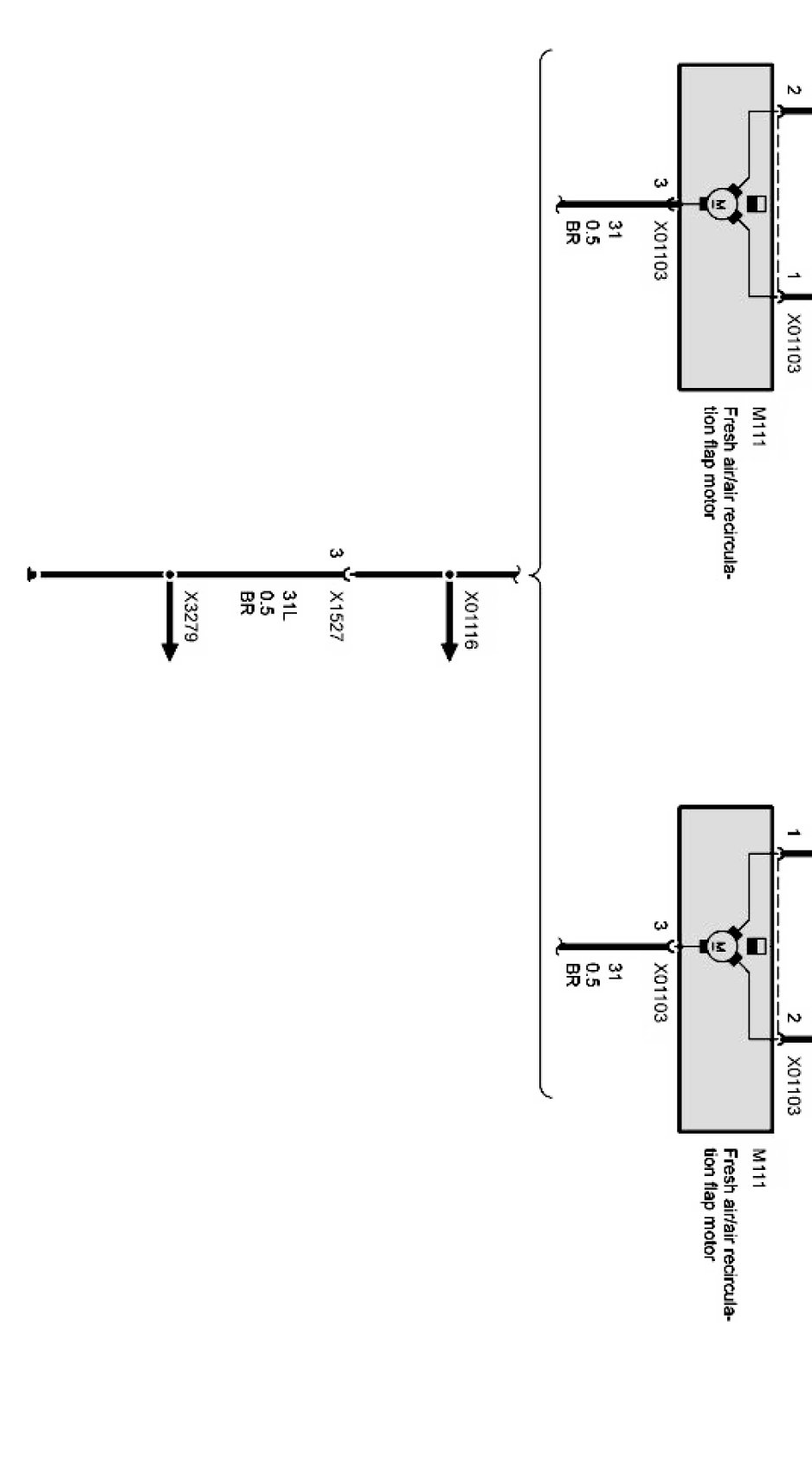
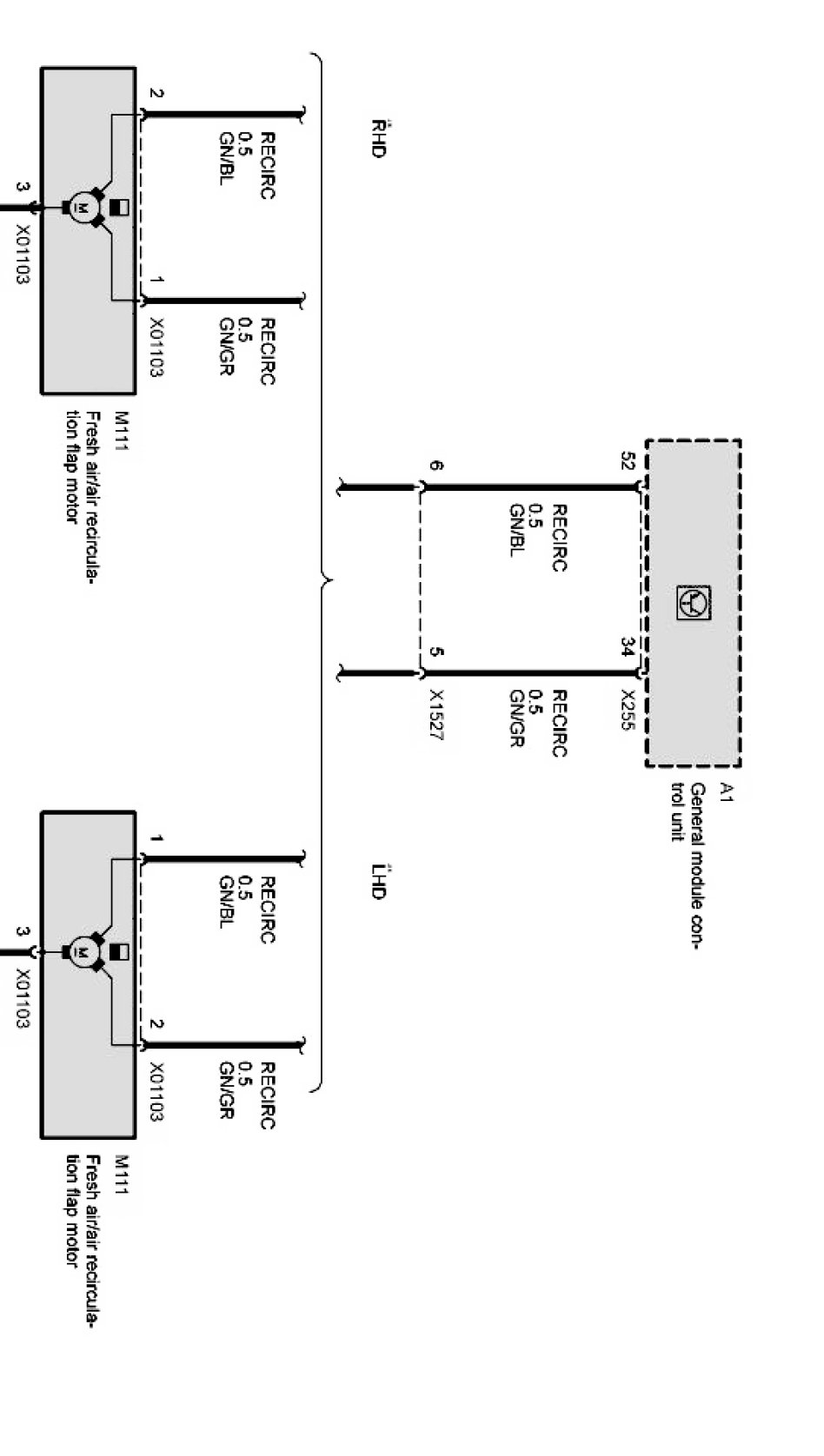
Fresh Air/Air Recirculation Flap Motor (IHKA Automatic Heating/Air Conditioning System As of 09/03)
Fresh Air/Air Recirculation Flap Motor (IHKA Automatic Heating/Air Conditioning System As of 09/03)
Fresh air/air recirculation flap motor Part 1:
Fresh air/air recirculation flap motor Part 2: