Operation CHARM
: Car repair manuals for everyone.
Home
>>
Mini
>>
2006
>>
Cooper S (R53) L4-1.6L SC (W11)
>>
Repair and Diagnosis
>>
Diagrams
>>
Electrical Diagrams
>>
Body
>>
Display and Information Functions
>>
Supply
>>
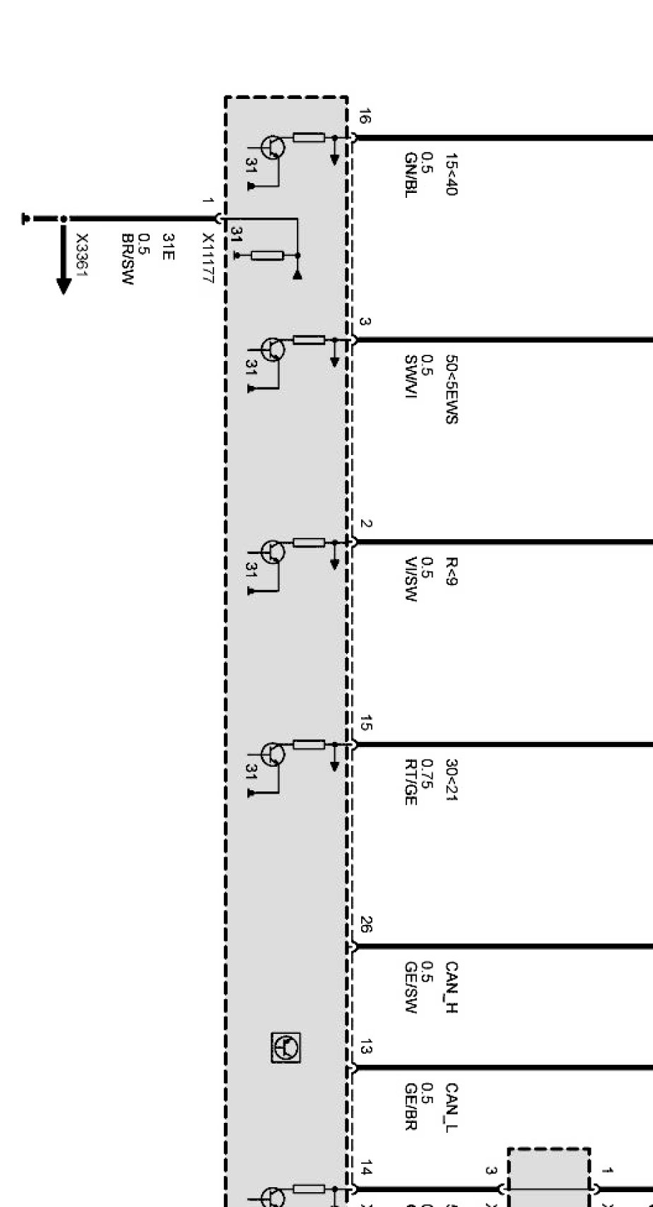
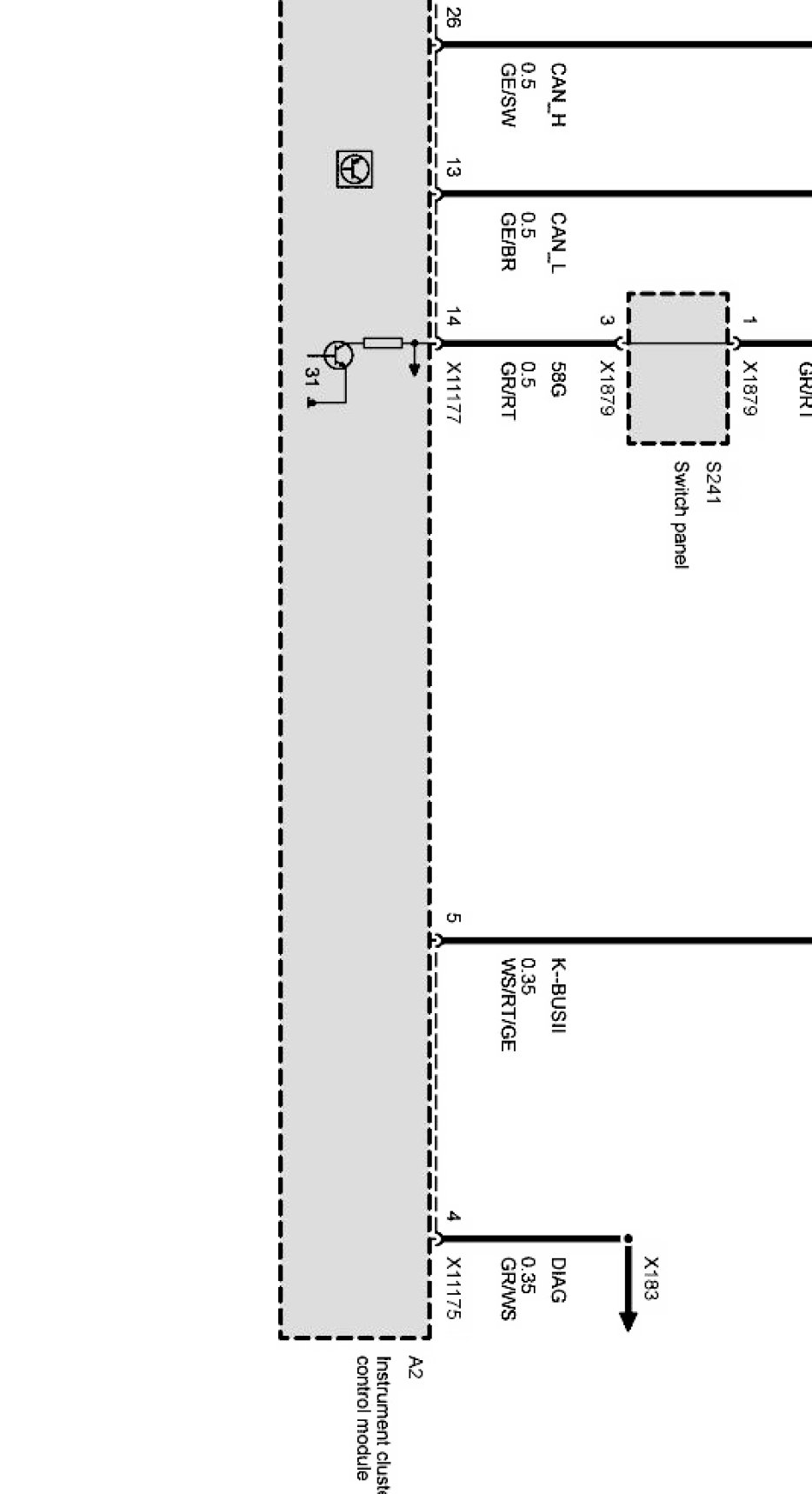
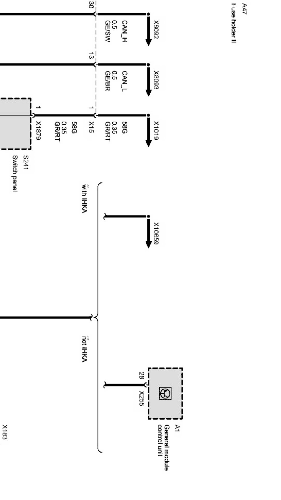
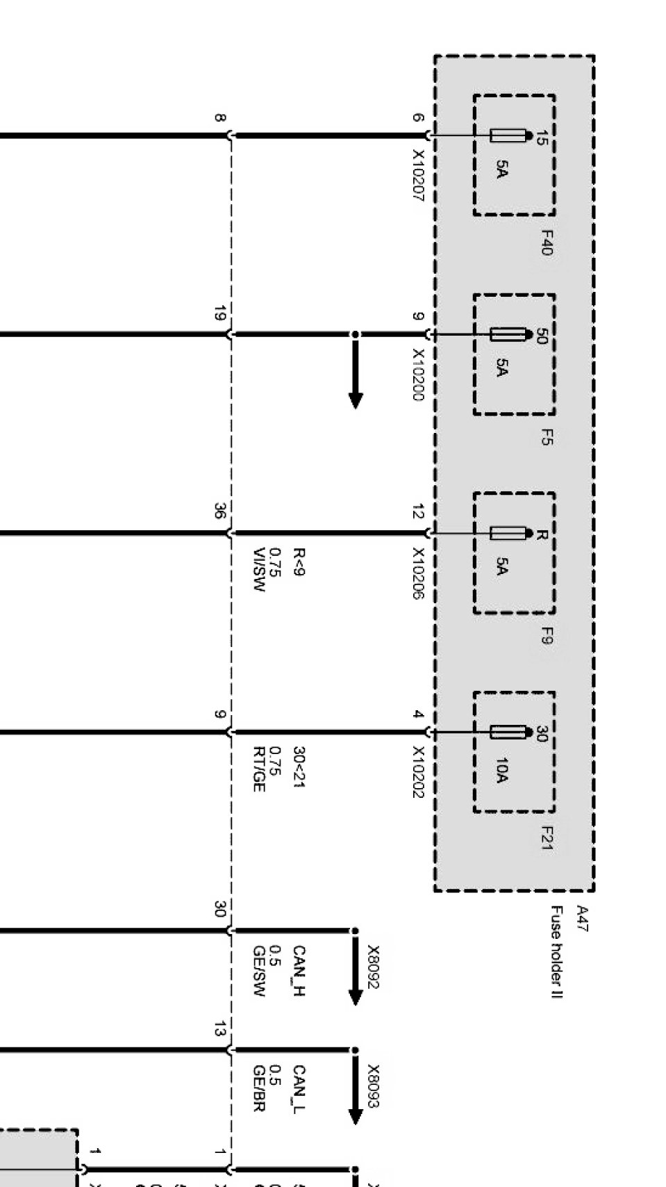
Supply (( DSC Dynamic Stability Control or Automatic Transmission ) As of 03/02 Up to 09/05)
Supply (( DSC Dynamic Stability Control or Automatic Transmission ) As of 03/02 Up to 09/05)
Supply Part 1:
Supply Part 2:
Supply Part 3:
Supply Part 4: