Display and Information Functions (As of 03/03)
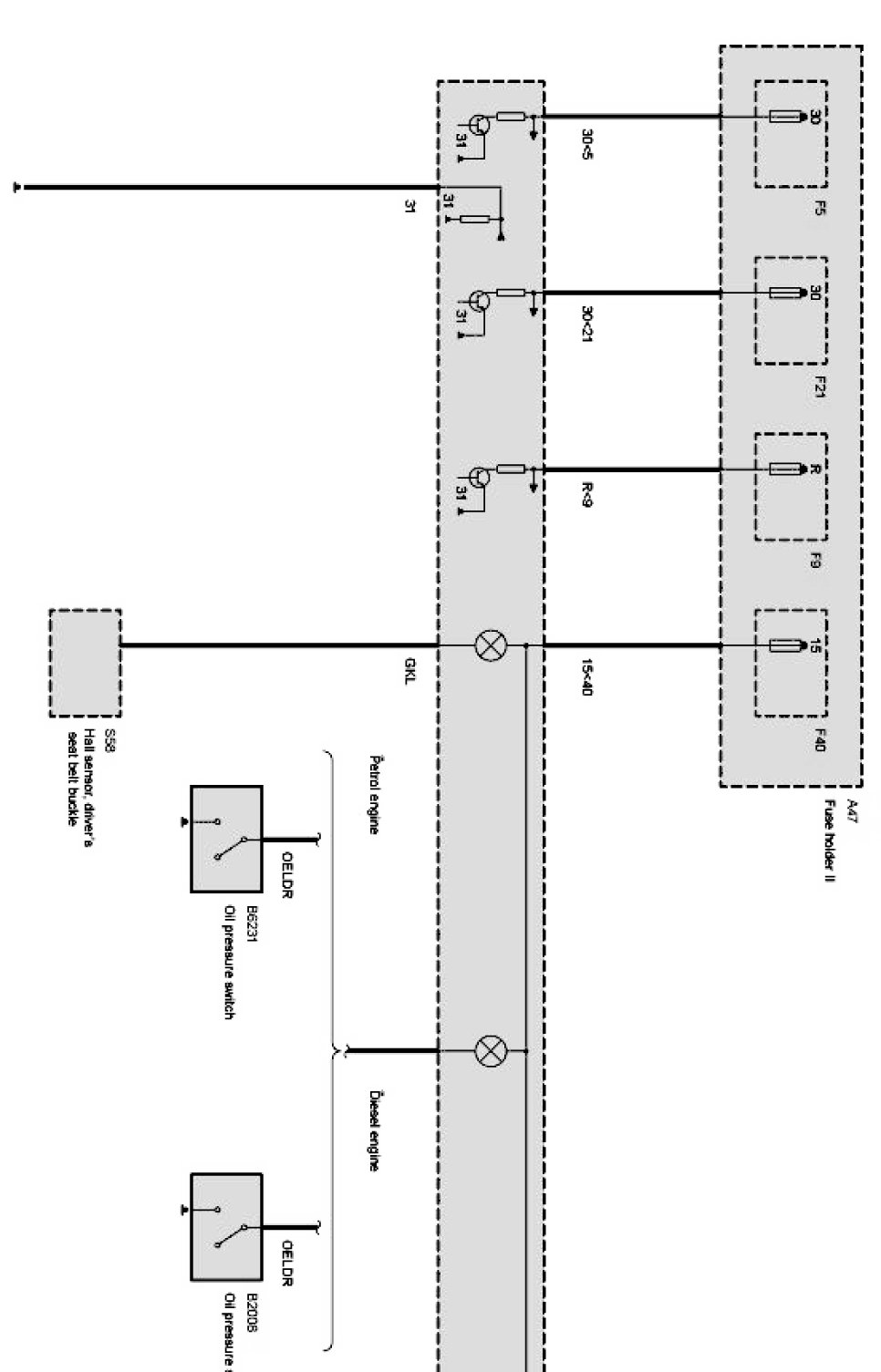
Display and information functions Part 1:

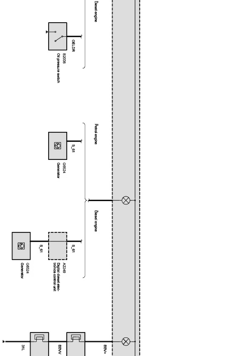
Display and information functions Part 2:

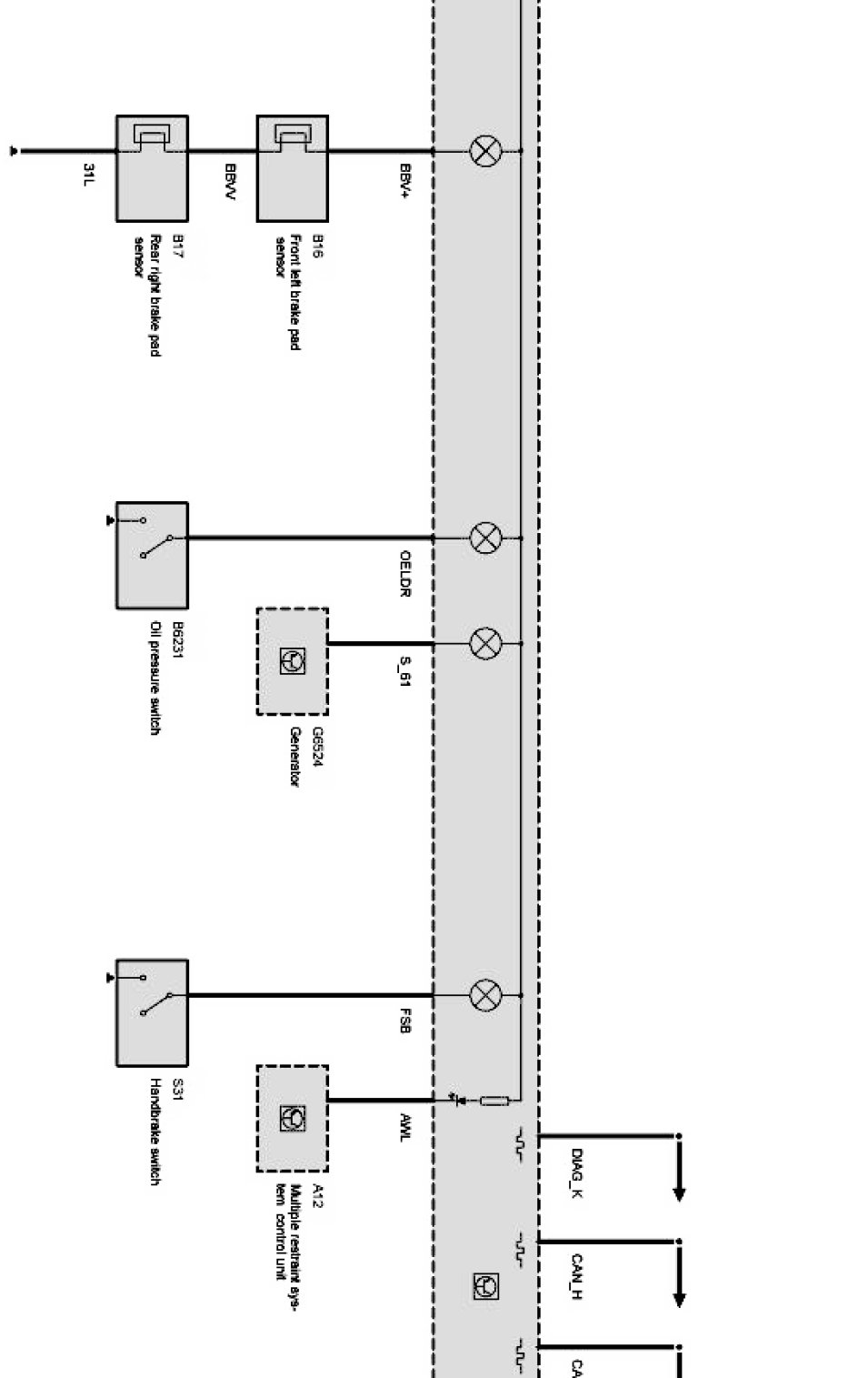
Display and information functions Part 3:

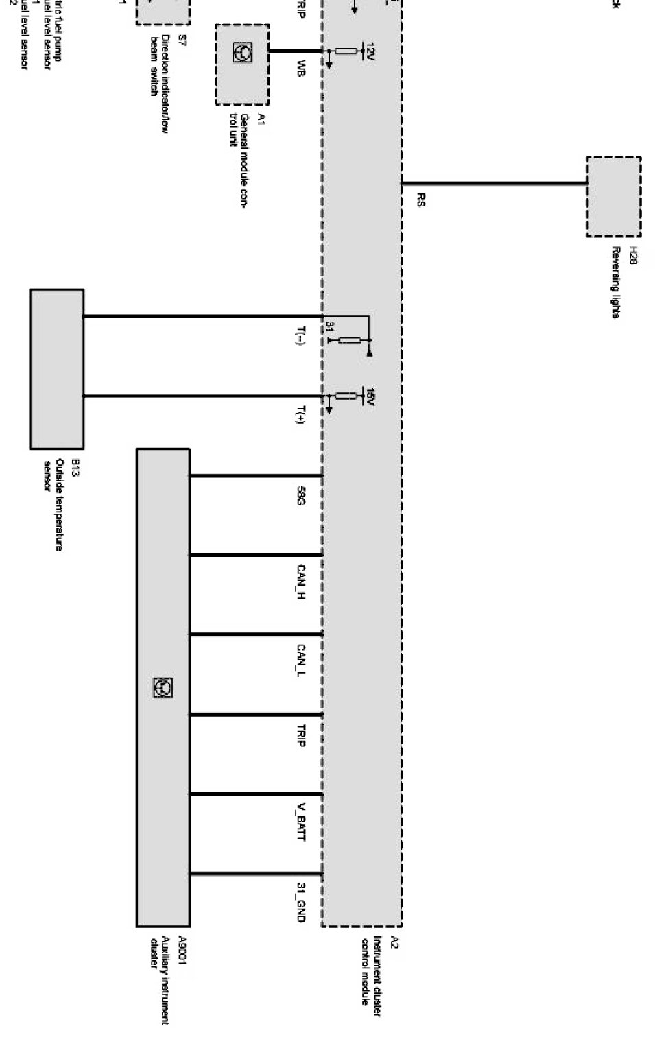
Display and information functions Part 4:

Display and information functions Part 5:
