Operation CHARM
: Car repair manuals for everyone.
Home
>>
Mini
>>
2006
>>
Cooper S (R53) L4-1.6L SC (W11)
>>
Repair and Diagnosis
>>
Diagrams
>>
Electrical Diagrams
>>
Body
>>
Audio, Video and Navigation
>>
Radio (RAD Radio)
>>
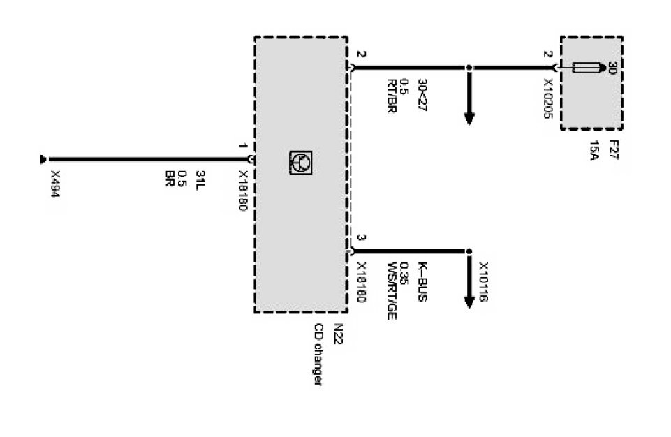
CD Changer
>>
CD Changer (Supply)
>>
CD Changer Supply (Stereo System)
CD Changer Supply (Stereo System)
CD changer supply: