Operation CHARM
: Car repair manuals for everyone.
Home
>>
Mini
>>
2006
>>
Cooper S (R53) L4-1.6L SC (W11)
>>
Repair and Diagnosis
>>
Diagrams
>>
Electrical Diagrams
>>
Body
>>
Audio, Video and Navigation
>>
Radio (RAD Radio)
>>
Hifi System (DSP Digital Sound Processor)
>>
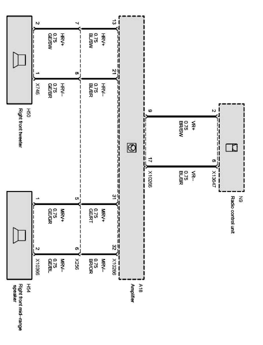
Speaker, Mid-Range Speaker/Tweeter, Front Right
Speaker, Mid-Range Speaker/Tweeter, Front Right
Front right speaker: