Operation CHARM
: Car repair manuals for everyone.
Home
>>
Mini
>>
2006
>>
Cooper S (R53) L4-1.6L SC (W11)
>>
Repair and Diagnosis
>>
Diagrams
>>
Electrical Diagrams
>>
Body
>>
Audio, Video and Navigation
>>
Radio (RAD Radio)
>>
Voltage Supply
>>
Supply, K Bus, Hi-FI (DSP Digital Sound Processor or Without RAD Radio)
>>
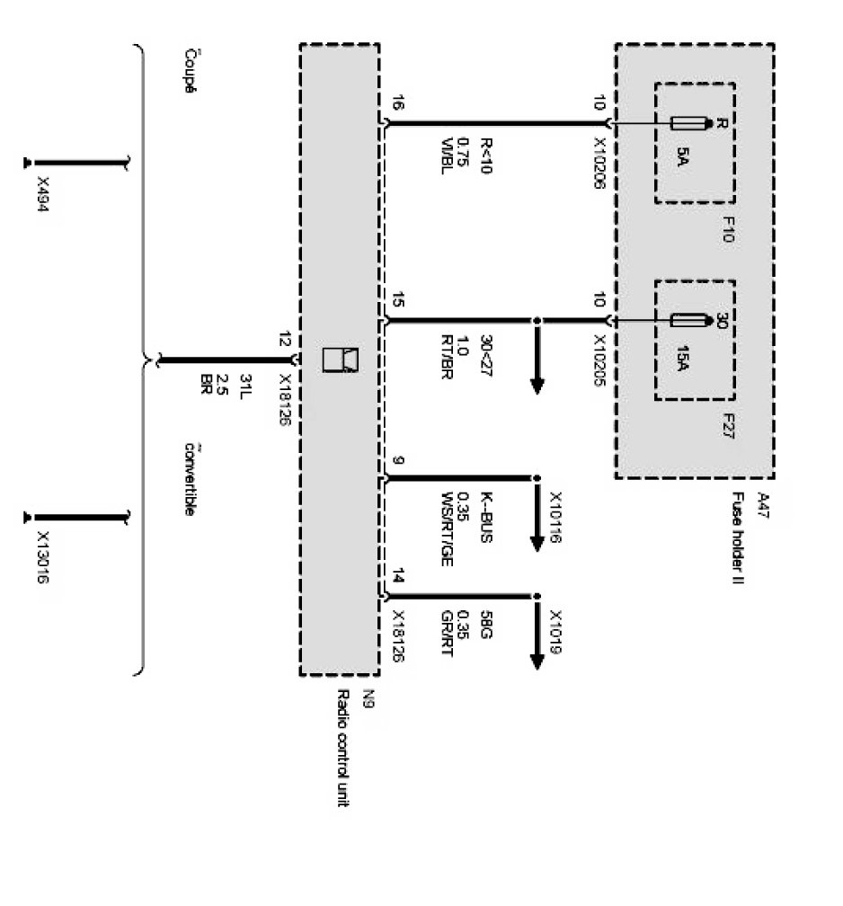
Radio Supply (As of 09/05)
Radio Supply (As of 09/05)
Radio supply: