Operation CHARM
: Car repair manuals for everyone.
Home
>>
Mini
>>
2006
>>
Cooper S (R53) L4-1.6L SC (W11)
>>
Repair and Diagnosis
>>
Diagrams
>>
Electrical Diagrams
>>
Body
>>
Audio, Video and Navigation
>>
Television (VID Video Module)
>>
Picture Output
>>
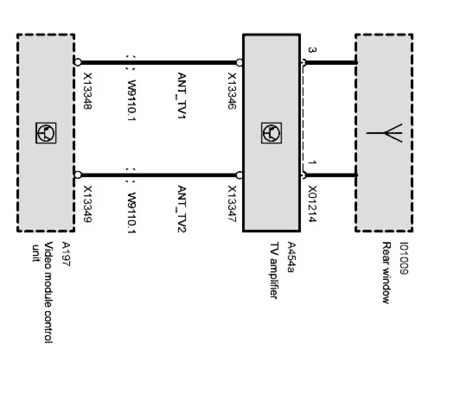
Video Module, Supply, TV Antenna
Video Module, Supply, TV Antenna
TV antenna: