Keys
Vehicle Keys
The purpose of the BMW keys are to:
- Operate All Locks
- Communicate with Drive-Away Protection(EWS) before start-up.
- Operate Keyless Entry and Burglar Alarm (DWA) Systems.
- Activate Key Memory Features
Each BMW is delivered to the new owner with four keys:

1. The Master Keys (two) are equipped with a radio transmitter (FZV) for
operation of the keyless entry system, burglar alarm (DWA) and determination of Key Memory (Key Memory will be explained in the Service and Maintenance).
The Master Key also contains the electronic chip which is required to
communicate with the driveaway protection system (EWS) before the vehicle will start. The mechanical blade of the key is used in the locking cylinders.
2. The Spare Key is meant for emergencies and is not intended for continuous use. It contains the electronic chip for EWS, but does not operate the keyless entry system. It can be used in all mechanical locks.
3. The Valet Key also contains the electronic chip for EWS. It can only operate the drivers door and ignition locks. The lock for the trunk or glove compartment cannot be operated by this key.
Replacement Keys
Replacement keys for vehicles equipped with EWS (January 1995 onwards) may only be ordered at the BMW Center. It is BMW's policy that the customer must present a valid drivers license and registration as proof of ownership. A copy of those documents must be faxed along with the order. The customer may request up to six replacement keys. This is in addition to the four keys that were delivered with the vehicle, allowing a total of ten keys.
Operation of Radio Transmitter Keys (FZV)


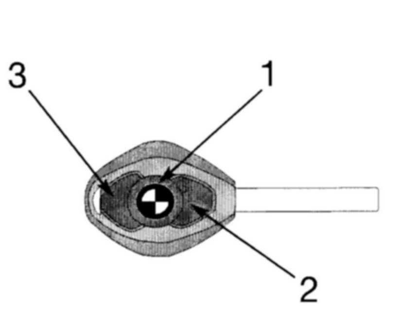
To unlock: Press button 2.
Press the button once to unlock the drivers door only; press a second time to unlock all remaining doors including the trunk (tailgate) and fuel door.
Convenience opening: Press and hold button 2. The Windows and the sunroof are opened.
To lock and arm DWA (if equipped): Press button 1.
To deactivate the tilt sensor and interior protection sensor press button 1 a second time after locking immediately. The indicator LED in the car lights up briefly then flashes continuously.
To switch on interior lights: Press button 1 again after locking.
To open the trunk or tailgate: Press button 3
Panic mode: By pressing and holding button 3 for more than 3 seconds the siren for the alarm system is triggered. To cancel the alarm press button 2.
Batteries


Radio transmitter keys on vehicles before model year 2000 require battery replacement every Inspection or when the message REMOTE KEY BATTERY appears in the check control display. Use a screw driver to lift the cover at the recess as shown in figure 2.3. Loosen the two screws shown in figure 2.4 and remove the cover. The battery type and position of installation are indicated on the back of the cover.
NOTE: If batteries are removed for longer than one minute on older transmitters (which have two batteries) the key will require re-initialization. Later keys (with one 3 volt cell) include an EEPROM which will not loose key data if the battery is dead or removed for a period longer than one minute.
Initialization of Radio Transmitter Keys
If a new transmitter is requested by the customer or a master key is replaced for a defect, the new transmitter will have to be initialized. When initializing the new key the other transmitters must be initialized as well. Up to four keys can be coded to operate the remote system on one vehicle.
Initialization Procedure:


1. Enter the vehicle and close all doors.
2. Using the first key briefly (max 5 seconds) turn the ignition switch to position 1(KLR) and back off again.
3. Remove the key from the ignition; press and hold button 2.
4. While holding down button #2, rapidly press button #1 three times in succession within 10 seconds.
5. Release both buttons. If the key is equipped with an LED (#4) it will flash slowly for 10 seconds. The GM activates and releases the locks in succession to indicate that initialization was successful.
If the LED continues to flash or the locks did not cycle, the initialization failed and the procedure will have to be repeated from step one.
To initialize the remaining keys, repeat the procedure starting from step 3.
Do not cycle the ignition again or open the door, this will cancel initialization.
Remember: Only four keys can be coded. If more than four keys are initialized the fifth key will become number one and the previous four will no longer be recognized.
Service Note: On vehicles equipped with Key Memory the initialization of the keys must be carried out in the same order as the keys are numbered. Initialization is how the GM recognizes the key identification number. Failure to initialize them in the proper order will assign key memory features to the wrong key.
Emergency deactivation of DWA: If the DWA system has been coded to only accept the remote control as a disarm signal and the transmitter is faulty proceed as follows:
Use the key to unlock the drivers door (Alarm sounds for 30 seconds). Insert the key in the ignition and turn it to position 1 (KLR). The EWS will recognize the key and command the GM to cancel DWA and unlock the doors.