Rear
Move vehicle into normal position.

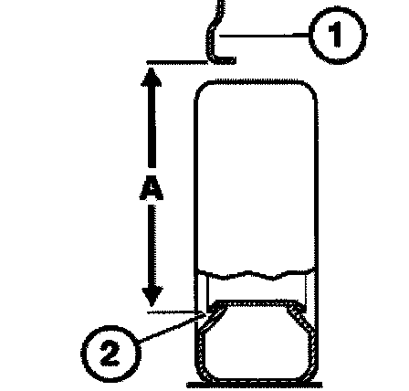
Determine actual ride level (A) - measurement from wheel arch lower edge (1) to rim flange (2) at wheel center height.
Determine mean value in each case for each wheel after previously raising and lowering vehicle body and establish mean value for axle.
If there is a deviation from specified value.
Refer to Technical Data.
Installing new coil spring.