Tools 23 0 000 Through 23 1 390
23 0 000 Attachment

Note: For car jack, for removing and installing manual and automatic transmissions
Transmission: Getrag/ZF
Order number: 23 0 000 Attachment
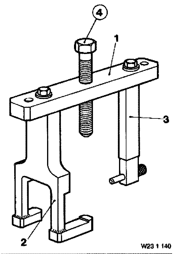
23 0 020 Holder

Minimum set: Mechanical tools
Note: For all three- and four-hole flanges during releasing and tightening down
Transmission: 265/5, GAO HP26Z, Getrag/ZF
Storage location: A5, B5, C5
Order number: 23 0 020 Holder
23 0 030 Support

Note: For Getrag transmission
Transmission: 280/5 Sport
Order number: 23 0 030 Support
23 0 040 Support

Minimum set: Mechanical tools
In conjunction with: 00 2 030 (not included in minimum kit)
Note: For removing and installing transmission
Transmission: S6S 420G, S6S 560G
Order number: 23 0 040 Support
Consisting of:
1 = 23 0 041 Support basket
Note: Transmission: S6S 560G
2 = 23 0 042 Mounting bracket
Note: Transmission: S6S 420G
23 0 050 Support

In conjunction with: 001 450
Note: For all 4-speed and 5-speed transmissions
Transmission: 242/4
Order number: 23 0 050 Support
23 0 060 Support

In conjunction with. 00 1 450
Note: For Getrag transmission
Transmission: 245/5, 245/5 Sport
Order number: 23 0 060 Support
23 0 070 Mounting bracket

In conjunction with: 00 1 450
Note: For Getrag transmission
Transmission: 265/5, 265/5 Sport
Order number: 23 0 070 Mounting bracket
23 0 080 Fixture

Note: For removing 5th gear wheel
Transmission: 265/5, 265/5 Sport 280/5 Sport
Order number: 23 0 080 Fixture
Consisting of: 23 0 081 Puller jaws (2)
23 0 090 Support

In conjunction with: 00 1 450
Note: For ZF and Getrag transmissions
Transmission: 240/5, 260/5, ZF S5-16
Order number: 23 0 090 Support
23 0 100 Support

Minimum set: Mechanical tools
In conjunction with: 001 450
Note: For mounting transmission on assembly stand
Transmission: S5D 200G, S5D 310Z
Order number: 23 0 100 Support
23 0 110 Support

In conjunction with: 00 2 030
Note: For removing and installing transmission
Sl number: 110200(551)
Order number: 23 0 110 Support
23 0 140 Support

In conjunction with: 00 2 030
Note: For removing and installing F transmissions
Transmission: S5D 390Z
Order number: 23 0 140 Support
23 0 150 Support

In conjunction with: 001 450
Note: For ZF transmission
Transmission: ZF S5-16
Order number: 23 0 150 Support
23 0 160 Support

In conjunction with: 00 1 450
Note: For Getrag transmission
Transmission: 262/4
Order number: 23 0 160 Support
23 0 170 Support

In conjunction with: 00 1 450
Note: For mounting F-transmission on assembly stand
Transmission: S5D 390Z
Order number: 23 0 170 Support
Consisting of:
1 = 23 0 171 Basic body
2 = 23 0 172 Spindle (2)
Note: With handle
23 0 180 Impact ring with slip sleeve

In conjunction with: 23 2 491
Note: For driving in radial shaft seal on drive side - F transmission
Transmission: S5D 390Z
Sl number: 11499(482)
Order number: 23 0 180 Impact ring with slip sleeve
Consisting of:
1 = 23 0 181 Impact ring
2 = 23 0 182 Slip sleeve
23 0 190 Impact bush

Note: For driving in radial shaft seal on output side - F transmission
Transmission: S5D 390Z
Sl number: 11 499(482)
Order number: 23 0 190 Impact bush
23 0 210 Extractor

Note: For removing rotary shaft seal on selector shaft- F-transmission
Transmission: S5D 390Z
Order number: 23 0 210 Extractor
Consisting of:
1 = 23 0 211 Basic body
2 = 23 0 212 Spindle
23 0 220 Impact bush

Note: For driving in radial shaft seal on selector shaft - F transmission
Transmission: S5D 390Z
Sl number: 11499(482)
Order number: 23 0 220 Impact bush
23 0 250 Holder

Minimum set: Mechanical tools
Note: Assistance in releasing and tightening down output flange
Transmission: GS5-39DZ, S5D 320Z
Sl number: 10600(575)
Order number: 23 0 250 Holder
23 0 490 Extractor

Note: For removing rotary shaft seal on input shaft
Series: R50, R53
Transmission: GS5 65BH, S5D 200G, S5D 250G, S5D 260Z, S5D 310Z, S6S 420G, S6S 560G
Storage location: Be, C6
Order number: 23 0 490 Extractor
Consisting of:
1 = 23 0 491 Rod
Note: With self-tapping screw
2= 23 0 492 Weight
23 1 000 Fixture

Note: For pressing-on transmission casing and deep groove ball bearing on transmission input shaft and in transmission casing
Transmission: 240/5, 24214, 245/5, 245/5 Sport, 260/5, 262/5, 26515, 265/5 Sport, 280/5 Sport, 3 HP 12, 3 HP 20, 3 HP 22, 4 HP 22, 4 HP 24, A4S 270R, A4S 310R, A5S 300J, A5S 310Z, A5S 440Z, A5S 560Z, BW 65, Getrag/ZF, S5D 260Z, ZF S5-16
Storage location: C15, C16
Order number: 23 1 000 Fixture
Consisting of:
1 = 23 1 001 Holding sleeve
2 = 23 1 002 Fitted pin (2)
3 = 23 1 003 Pressure piece, long
4 = 23 1 004 Pressure piece, short
5 = 23 1 005 Handle
7 = 23 1 007 Pressure piece for Getrag transmission
23 1 010 Fixture for removing rear section of transmission casing

Transmission: 280/5 Sport
Order number: 23 1 010 Fixture for removing rear section of transmission casing
23 1 020 Fixture for removing transmission casing (front and rear section)

In conjunction with: 331 301
Transmission: 245/5 Sport
Storage location: C32
Order number: 23 1 020 Fixture for removing transmission casing (front and rear section)
23 1 030 Drift for fitting inner bearing race on countershaft

Transmission: 245/5, 265/5
Storage location: C22
Order number: 23 1 030 Drift for fitting inner bearing race on countershaft
23 1 040 Drift for fitting slide piece (5th gear)

Transmission: 245/5 Sport, S5D 200G
Storage location: C23
Order number: 23 1 040 Drift for fitting slide piece (5th gear)
23 1 050 Puller (Kukko)

Note: For 5th gear as well as reverse gear wheel
Transmission: 240/5, 245/5, 260/5, 265/5 Sport, 280/5Sport, ZF S5-16
Order number: 23 1 050 Puller (Kukko)
Consisting of:
1 = 23 1 051 Link (Kukko 20-20)
23 1 060 Fixture

In conjunction with: 33 1 301
Note: For removing inner bearing race - reverse gear wheel
Transmission: 245/5, 265/5 Sport
Storage location: B20
Order number: 23 1 060 Fixture
Consisting of:
1 = 23 1 061 Shells (2)
2 = 23 1 062 Threaded ring
3 = 23 1 063 Holding sleeve
23 1 070 Measuring ring

Note: For determining shim ring between outer bearing race and circlip of countershaft
Transmission: 245/5
Storage location: B28
Order number: 23 1 070 Measuring ring
23 1 080 Drift

In conjunction with: 00 5 500
Note: For removing and installing outer bearing race in front section of transmission casing/center section of countershaft and of ball bearing in rear section of transmission casing, input shaft
Transmission: 245/5, 265/5
Storage location: A28
Order number: 23 1 080 Drift
23 1 090 Drift

In conjunction with: 00 5 500
Note: For removing and installing outer bearing race of input shaft in front section of transmission casing
Series: R50, R53
Transmission: 245/5, 265/5, GS5 65BH
Storage location: A28
Order number: 23 1 090 Drift
23 1 100 Puller claws

In conjunction with: 00 7 500
Note: For speedometer gear
Transmission: 245/5, 26515, 280/5 Sport
Storage location: B29
Order number: 23 1 100 Puller claws
23 1 110 Drift

In conjunction with: 00 5 500
Note: For installing bearing of output shaft in rear section of transmission casing
Transmission: 245/5
Storage location: A28
Order number: 23 1 110 Drift
23 1 120 Drift

In conjunction with: 00 5 500
Note: For removing outer bearing race of countershaft in center section of transmission casing
Transmission: 240/5, 245/5, 260/5, 280/5 Sport, ZF S5 16
Storage location: A29
Order number: 23 1 120 Drift
23 1 130 Drift

Note: For removing bearing of input shaft and roller bearing in center section of transmission casing
Transmission: 245/5, 280/5 Sport
Storage location: A29
Order number: 23 1 130 Drift
23 1 140 Fixture

Note: For removing front and rear section of transmission casing
Transmission: S5D 200G
Order number: 231140 Fixture
Consisting of:
1 = 23 1 141 Puller link
2 = 23 1 142 Puller fork
3 = 23 1 143 Puller rod with pin
4 = 23 1 144 Spindle
231 170 Fixture

Note: For removing front section of transmission casing
Transmission: 265/5
Order number: 23 1 170 Fixture
Consisting of:
1 = 23 1 171 Plate
2 = 23 1 172 Knurled screw(3)
23 1 180 Drift

In conjunction with: 00 0 500
Note: For fitting rotary shaft seal in guide tube of clutch release mechanism
Transmission: 260/5, 265/5, 265/5Sport, 280/5Sport
Storage location: A29
Order number: 23 1 180 Drift
23 1 190 Drift

In conjunction with: 00 5 500
Note: For removing and installing ball bearing of input shaft in front section of transmission casing
Transmission: 265/5, 280/5 Sport
Order number: 23 1 190 Drift
23 1 200 Guide bush

In conjunction with: 23 1 210
Note: For centering wrench socket when releasing and tightening transmission output flange and input flange of rear axle differential
Transmission: 265/5, Getrag/ZF
Storage location: B30
Order number: 23 1 200 Guide bush
23 1 210 Socket wrench socket

In conjunction with: 23 1 200 and torque wrench
Note: For releasing and tightening transmission output flange and input flange of rear axle differential
Transmission: 240/5, 242/4, 245/5, 245/5 Sport, 260/5, 262/4, 265/5, 265/5 Sport, 280/5 Sport, 3 HP 12, 3 HP 20, 3 HP 22, 4 HP 22, 4 HP 24, A4S 270R, A4S 310R, A5S 300J, A5S 310Z, A5S 440Z, A5S 560Z, BW 65, Getrag/ZF, S5D 200G, S5D 250G, ZF S5-16
Storage location: A27
Order number: 23 1 210 Socket wrench socket
23 1 220 Drift

In conjunction with: 00 5 500
Note: For removing and installing roller bearing of countershaft shaft in front section of transmission casing
Transmission: 260/5, 265/5, A5S 310Z
Storage location: A29
Order number: 231 220 Drift
23 1 230 Spindle (2)

In conjunction with: 00 7 500
Note: For removing inner bearing race from input shaft in front section of transmission casing
Transmission: 265/5
Order number: 23 1 230 Spindle (2)
23 1 240 Drift

Minimum set: Mechanical tools
Note: For fitting rotary shaft seal on gearshift shaft
Transmission: 240/5, 24214, 245/5, 245/5 Sport, 260/5, 262/4, 265/5, 265/5 Sport, 280/5 Sport, 3 HP 12, 3 HP 20, 3 HP 22, 4 HP 22,4 HP 24, A4S 270R, A4S 310R, A5S 300J, A5S 310Z, A5S 440Z, A5S 560Z, BW 65, S5D 200G, S5D 250G, S6S 420G, ZF S5-16
Storage location: A20
Order number: 23 1 240 Drift
23 1 250 Tensioning pin

Note: For removing and installing selector arm
Transmission: 240/5, 260/5, 280/5 Sport, S5D 200G
Storage location: C24
Order number: 23 1 250 Tensioning pin
23 1 260 Drift

In conjunction with: 00 5 500
Note: For installing outer bearing race on front and rear countershaft
Transmission: 240/5, 260/5, 280/5 Sport, S5D 200G, S5D 310Z
Storage location: A29
Order number: 23 1 260 Drift
23 1 270 Drift

In conjunction with: 00 5 500
Note: For removing outer bearing race on countershaft in front section of transmission casing as well as for removing seal and needle bearing from oil pump housing (A5S 560Z)
Transmission: 240/5, 260/5, A5S 560Z
Storage location: A29
Order number: 23 1 270 Drift
23 1 280 Extractor

In conjunction with: 33 4 020 and 23 1 300
Note: For outer bearing race on countershaft in rear section of transmission housing
Transmission: 240/5, 265/5, 280/5Sport, S5D 200G, S5D 310Z
Storage location: C3
Order number: 23 1 280 Extractor
Consisting of: 23 1 281 Replacement claw
23 1 290 Holding sleeve

Note: For fitting guide sleeve on output shaft - 1st gear
Transmission: 240/5, 260/5, 280/5 Sport, S5D 200G, S5D 310Z, ZF S5-16
Storage location: C23
Order number: 23 1 290 Holding sleeve
23 1 310 Tool

Note: For fitting locking device on deflection lever
Transmission: 280/5 Sport
Order number: 23 1 310 Tool
23 1 340 Drift

In conjunction with: 00 5 500
Note: For fitting rotary shaft seal on transmission input shaft
Transmission: 242/4, S5D 200G
Storage location: A29
Order number: 23 1 340 Drift
23 1 350 Puller fixture

In conjunction with: 33 1 301
Note: For rear section of transmission casing
Transmission: 265/5
Order number: 23 1 350 Puller fixture
Consisting of:
1 = 23 1 351 Plate
2 = 23 1 352 Screw, short (2)
3 = 23 1 353 Screw, long (2)
23 1 360 Drift

In conjunction with: 00 5 500
Note: For fitting rotary shaft seal on transmission input shaft
Transmission: 240/5, 245/5, 262/5, ZF S5-16
Storage location: A35
Order number: 23 1 360 Drift
23 1 370 Drift

Note: For fitting rotary shaft seals on transmission output flanges
Transmission: 242/4, 262/5, 265/5, 265/5 Sport
Storage location: B28
Order number: 23 1 370 Drift
23 1 380 Drift

In conjunction with: 00 0 500
Note: For installing roller bearing of countershaft shaft in rear section of transmission casing
Transmission: 240/5, 245/5, 260/5, 280/5 Sport
Storage location: B30
Order number: 23 1 380 Drift
23 1 390 Drift

In conjunction with: 00 5 500
Note: For installing roller bearing of countershaft shaft in rear section of transmission casing
Transmission: 265/5, 280/5 Sport
Storage location: A29
Order number: 23 1 390 Drift